Utforming av tunnelprofiler
Publisert: 30. august 2011
Oppdatert: 4. februar 2025
1 Innledning/historikk
I dette kapitlet skal vi se nærmere på hvilke faktorer som vil være bestemmende ved utforming av et tunnelprofil. I kapitlet oppsummeres de enkelte forhold som det må tas hensyn til, mens det for mer detaljerte forklaringer vises til andre aktuelle kapitler i Jernbaneverkets lærebøker. Eventuelt henvises det til Jernbaneverkets tekniske regelverk der dette er hensiktsmessig.
Totalt i Norge finnes det ca. 700 jernbanetunneler med en samlet sporlengde på 270 km. Tunnelprofiler for jernbanen er endret og utvidet gjennom årene. Elektrifisering av jernbanestrekninger, krav til større hastighet, større lasteprofiler og mer fokus på sikkerhet har gjort at kravene til størrelse av tunnelprofiler har økt.
Tabell 1 viser utviklingen av normalprofiler for enkelt- og dobbeltsporede tunneler fra tidlig på 1900-tallet og fram til i dag. Tunnelens normalprofil er det profil som skal holdes fritt for faste gjenstander unntatt spor, signal og kontaktledningsanlegg. I tillegg skal normalprofilet ha tilstrekkelig tverrsnitt til å ivareta gitte komfort- og sikkerhetskrav. Normalprofilet regnes fra skinnetopp laveste skinne.
Tabell 1: Utvikling i tverrsnittareal for jernbanetunneler
| Årstall | Normalprofil for tunneler på rettlinje (nettoprofil, dvs. areal over skinnetopp laveste skinne) | ||
|---|---|---|---|
| Enkeltspor | Dobbeltspor | Merknad | |
| Normalprofil 1914 | 27,1 m2 | ||
| Normalprofil 1920 | 28,3 m2 | 55,3 m2 | |
| Normalprofil iht. Regelverk 01.01.93 | 43,3 m2 | 85 m2 | Inkluderer sikkerhets- og komfortkrav ved hastighet opp til 200 km/h |
| Normalprofil iht. regelverk 01.01.98 | 43,3 m2 | 86 m2 | Som for regelverk pr. 01.01.93, men mer sirkelformet tunnelheng for dobbeltspor. |
2 Bestemmende faktorer ved utforming av tunneltverrsnitt
Ved utforming av nødvendig tverrsnitt for tunnelprofilet vil følgende forhold være bestemmende:
- Krav til minste tverrsnitt
- Plassbehov for kontaktledning (krav til minste tverrsnitt E, nisjer ol.)
- Plassbehov pga. sikkerhetskrav
- Plassbehov pga. trykk- og sugkrefter
- Plassbehov pga. ev. andre konstruksjoner
Under driving av tunneler med konvensjonell drift må det i tillegg tas hensyn til sammenheng mellom teoretisk sprengningsprofil og normalprofil. Samtidig vil valg av type overbygningskonstruksjon spille en rolle ved vurdering av nødvendig tunneltverrsnitt.
Ved dimensjonering av tunnelprofil er det også viktig at det tas langsiktige hensyn. Dette gjelder spesielt hensyn til ev. framtidige hastighetsøkninger.
2.1 Minste tverrsnitt
Til hver side av sporet, over sporet og mellom skinnene skal et visst rom være fritt for hindringer slik at man har den forutsatte klaring for framføring av tog. Tverrsnittet av dette rom benevnes minste tverrsnitt.
Ved dimensjonering av et tunnelprofil må det først foretas et valg av hvilket minste tverrsnitt som skal legges til grunn. De ulike banestrekninger har i sin tid blitt bygget med ulike tverrsnitt. Dette har ført til at man gjennom tidene har operert med en rekke forskjellige minste tverrsnitt. Ved fornyelsen av NSBs regelverk i 1993 ble det bestemt at man for eksisterende baner kun skulle operere med et tverrsnitt, A-85, se figur 1.

For nye baner valgte man å basere seg på et UIC-tverrsnitt benevnt UIC GC som samsvarte med det tverrsnitt som en del andre jernbaneforvaltninger bygget etter, jf. figur 2. Fra og med 1998 ble to nye minste tverrsnitt innført: A-96 og A-C. Jernbaneverkets krav til minste tverrsnitt er gitt i teknisk regelverk JD 520 kap. 5 «Konstruksjonsprofiler».

Figur 2 viser hvilke høyder og bredder som må holdes fritt for hindringer. Figuren viser også minste tverrsnitt E, jf. avsnitt 2.2.1. Måleaksen for minste tverrsnitt står vinkelrett på sporplanet i spormidt. Høydereferanse er skinneoverkant for laveste skinne.
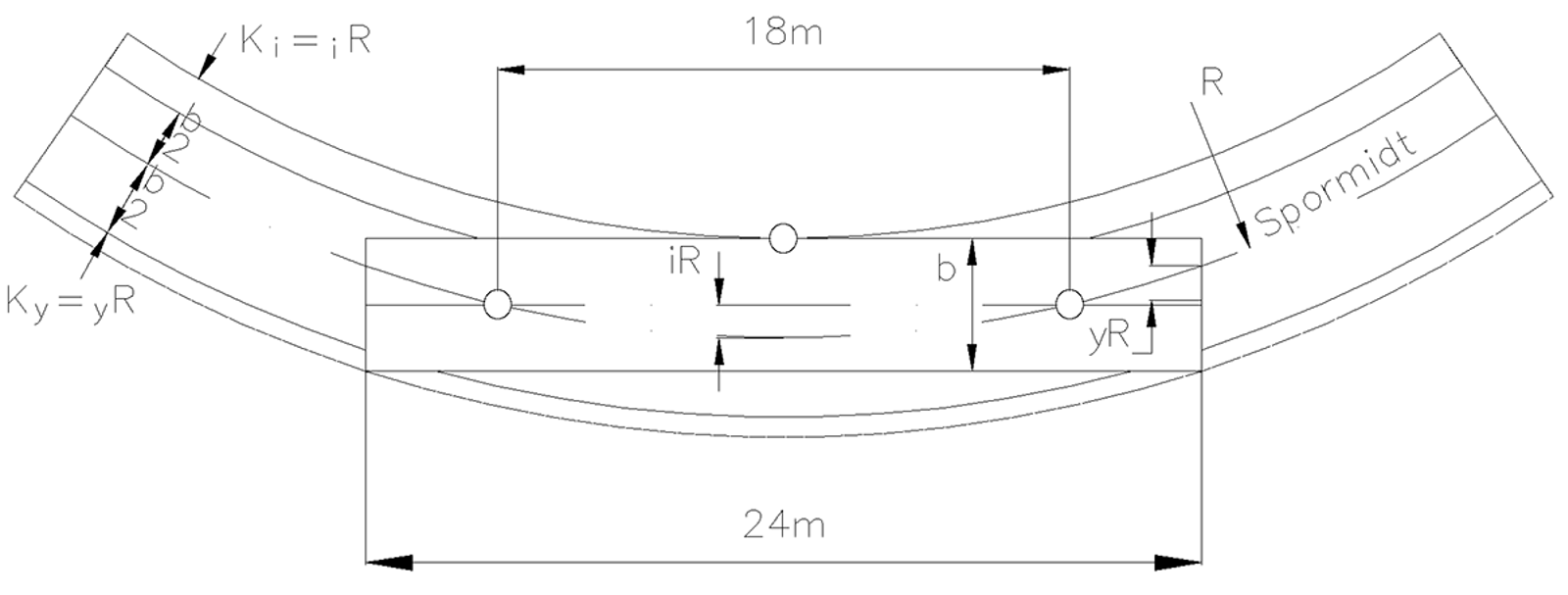
På strekninger hvor sporets kurvatur endres forandres også tunnelens bredde- og høydemål på grunn av det ekstra plassbehov som oppstår når lange vogner befinner seg i kurver. Størrelsen av kurveutslagene fastlegges på grunnlag av en teoretisk vogn med lengde 24 m og akselavstand 18 m, jf. prinsipp i figur 3. Krav til breddeutvidelser er gitt i JD 520 kap. 5 «Konstruksjonsprofiler».

2.2 Plassbehov for kontaktledning
Ved vurdering av tunneltverrsnitt på elektrifiserte strekninger vil også kontaktledningen være bestemmende for utforming av profilet. I tilknytning til kontaktledningen må det tas hensyn til følgende:
- Minste tverrsnitt E
- Behov for nisjer
2.2.1 Minste tverrsnitt E og fritt profil for strømavtaker
Minste tverrsnitt E er det tverrsnittet som trengs til fri passasje av strømavtakeren samt kontakttråden, bærelinen og andre konstruksjonsbestanddeler som tilhører kontaktledningsanlegget.
Fritt profil for strømavtaker angir plassbehovet for passasje av materiellets strømavtaker. I dette profilet skal kun kontakttråden være. Hverken fritt profil for strømavtaker eller minste tverrsnitt E får kurveutslag.
Minste tverrsnitt E for nye baner er vist på figur 2. For system med sideutligger i eksisterende tunneler er fritt profil for strømavtaker og minste tverrsnitt E vist på figur 4.

Minste tverrsnitt E er dimensjonert slik at det mellom begrensningslinjene og de spenningsførende deler er tilstrekkelig isolasjonsavstand. Målaksen for minste tverrsnitt E står vinkelrett på sporplanet i spormidt. På rettlinjet spor og mer enn 30 m fra nærmeste OB (overgangskurvens begynnelsespunkt), KP (kurvepunkt) eller SS (sporvekselkurve) tillates at minste tverrsnitt E sideveis blir innskrenket med 100 mm. Høyden for minste tverrsnitt E (HE) er avhengig av kontakttrådhøyden ved opphengningspunktet (H0) og av kontaktledningens konstruksjonshøyde (C):
(2.1)
Verdier for H0 og C er gitt i tabell 2 og 3. Tabellene viser at kontakttrådhøyden er steds- systemavhengig.
Tabell 2: Kontrakttrådhøyde i tunneler og byggverk lengre enn 20 m
| Kontaktledningssystem | H0 [m] |
|---|---|
| System 35 | 5,05–5,60 |
| System 20 C1 | 5,05–5,60 |
| System 25 tunnel | 5,30 |
Tabell 3: Konstruksjonshøyden (C) i tunneler og byggverk lengre enn 20 m
| Kontaktledningssystem | C [m] |
|---|---|
| System 35 inntil 100 km/h | 0,53 |
| System 35 100–130 km/h | 0,57 |
| System 35 130–160 km/h | 0,88 |
| System 20 C1 | 1,05 |
| System 25 tunnel | 1,40 |
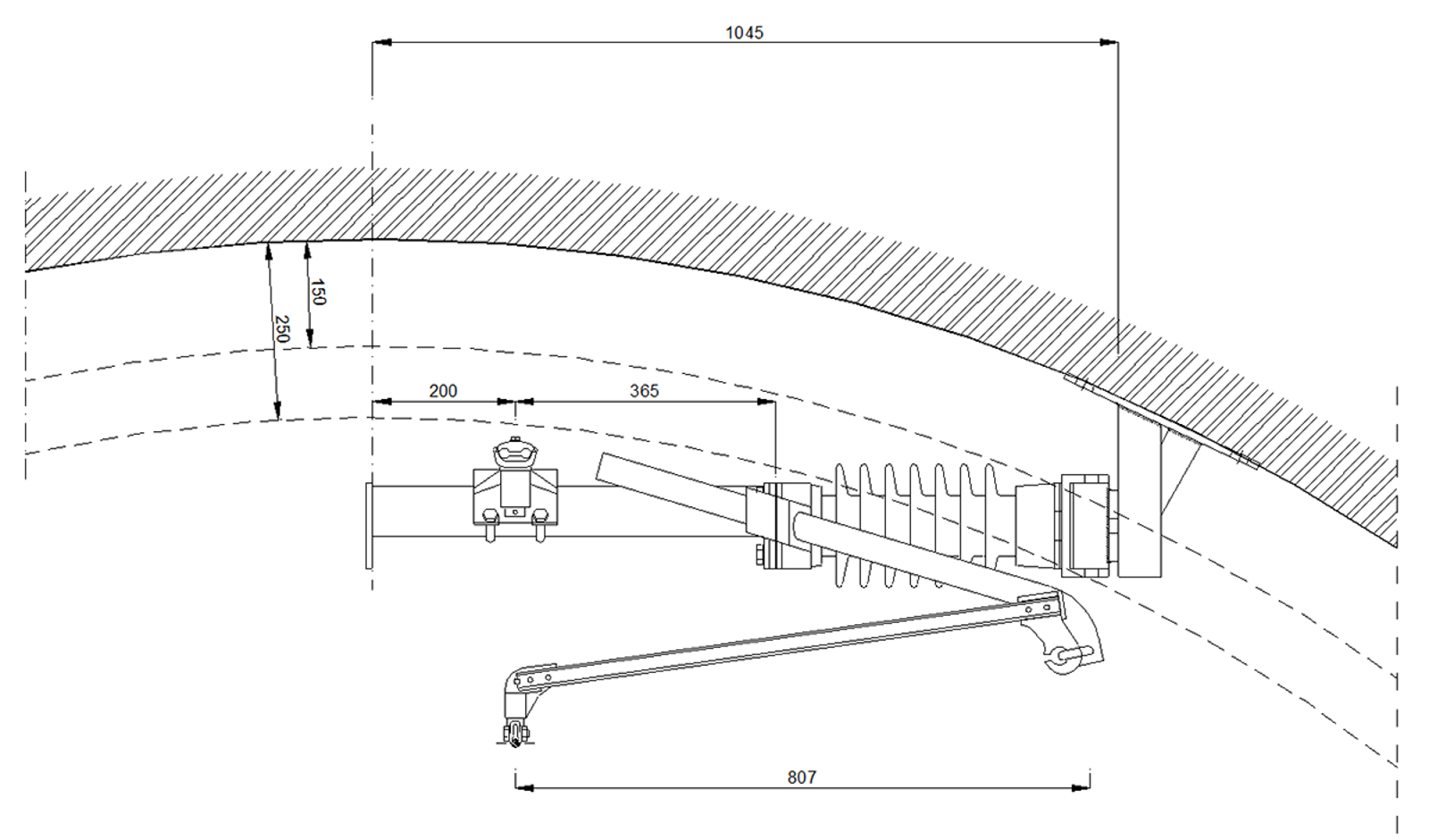
I tillegg til de ovennevnte KL-systemer er det utviklet en nyere tunnelutligger som er mindre plasskrevende, kalt tunnelutligger Ferrer og Frei, vist i figur 5.

Som figurene viser vil altså denne tunnelutliggeren være betydelig mindre plasskrevende enn en vanlig tunnelutligger, og er spesielt godt egnet til bruk i eksisterende tunneler med trange profil.
2.2.2 Nisjer
Kontaktledningssystemet krever tre ulike nisjer i tunneler:
A: nisje for utligger og utliggerfeste B: nisje for vekslings- og seksjonsfelt C: nisje for loddavspenning av kontaktledningsanlegget
Nisje A for utligger og utliggerfeste har en lengde på ca. 1,5 m for hver ca. 45 m, vekselvis på høyre og venstre side på rettlinje, eventuelt i ytterkurve. Nisjens størrelse er avhengig av utliggerens strekkstag. Strekkstaget varierer fra 2300 mm til 5000 mm for system 20 C1 og 25 tunnel.
Nisje B for vekslings- og seksjonsfelt har en lengde på ca. 150 m og gjentas med ca. 1200 m mellomrom. For system 20 C1 og 25 tunnel bygges nisjen ca. 500 mm i høyden.
Nisje C for loddavspenning av kontaktledningsanlegget har en lengde på ca. 15 m og gjentas 2 ganger med ca. 1200 m mellomrom.
Nisjene A, B og C er for øvrig vist på figur 6.
Med henblikk på tilsyns- og vedlikeholdsarbeider bør det i lange tunneler være nisjer i en avstand av ca. 200 m. Disse bør ha følgende minstemål:
Dybde: 2 m (utenfor tunnelprofil)
Høyde: 2,4 m (over skinnetopp laveste skinnestreng)
Lengde: 2,5 m
Øvrige nisjer vil også forekomme med ulike mellomrom. Dette kan være nisjer for tekniske installasjoner, utstyr, koblingsskap etc. Lokalisering og utforming av disse må vurderes spesielt.
2.3 Plassbehov pga. sikkerhetskrav
I forbindelse med at det stilles sikkerhetskrav i tunneler er det i TSI SRT/Bane NORs tekniske regelverk bl.a. satt krav til gangbaner for tunneler lengre enn 500 m.
2.4 Plassbehov pga. trykk- og sugkrefter
Ved høye toghastigheter vil det oppstå betydelige vindkrefter ved passering av tog i tunnelen. Disse kreftene vil ha innvirkning på:
- Passasjerenes komfort pga. trykkendringer over tid
- Effektbehov for tog i tunnel
- Krefter på konstruksjoner, installasjoner og utstyr i tunnelen
I avsnittene 2.4.1–2.4.3 foretas noen korte oppsummeringer, mens ovennevnte forhold er beskrevet mer i detalj under kapittel 5 «Trykk- og sugkrefter».
2.4.1 Komfort og helsekriterier
For passasjerene som befinner seg ombord på et tog er det trykkendringene inne på toget som kjennes. Når trykkendringene overstiger en viss grense påvirker dette passasjerenes komfort. Øker trykkendringene utenfor disse grensene, kan trykkendringene også påvirke passasjerenes helse.Idet et tog kjører inn gjennom en tunnelmunning skapes det en rask trykkendring. I tillegg til denne effekten av entringen vil togets følgetrykk skape et undertrykk langs sidene av toget mens det går gjennom tunnelen. Slike trykkendringer kan påvirke komforten inne i togene. Store trykkendringer på innsiden av en vogn kan føre til ubehag og i ekstreme tilfeller føre til skader på passasjerer og ansatte.
Krav til komfortkriterier fra UIC er gitt i kap. 5 Trykk- og sugkrefter. Grenseverdiene er forskjellige for ikke trykktette, moderat trykktette og trykktette tog.
2.4.2 Effektbehov i tunnel
Det totale aerodynamiske effektbehovet for tog i tunneler er funnet som produktet av den totale luftmotstand på toget og togets hastighet. Effektforbruket øker betraktelig når toget kjører inn i en tunnel i forhold til friluft. Luftmotstanden kan da være den dominerende motstandskraften, større enn både rullemotstand og tyngdekraft. Luftmotstanden på toget er delt opp i følgende tre komponenter:
- Friksjonskraft bestående av friksjon fra togsider, tak og understell
- Trykkraft bestående av kreftene som virker på fronten og bakenden av toget pga. trykkforskjell
- Andre togkrefter som er summen av krefter på understellet pga. trykkforskjeller over boggier og andre obstruksjoner.
Den dominerende kraften på toget er friksjonskraften langs togets ytterflater. For å beregne friksjonskreftene nøyaktig kreves det detaljerte tredimensjonale viskøse beregninger.
Ved vurdering av effektbehov i tunneler er det funnet fem forskjellige parametre som har større eller mindre innvirkning. Disse parametrene er:
- tunnelveggruhet
- tunneltverrsnitt
- toghastighet
- toglengde
- togtype
I tabell 4 oppsummeres de ulike faktorers betydning. For mer detaljerte forklaringer vises til kapittel 5 «Trykk- og sugkrefter».
Tabell 4: Ulike parametrers betydning for effektbehov i lange tunneler
| Parameter | Betydning for effektbehov | Kommentar |
|---|---|---|
| Tunnelveggens ruhet | Liten | Veggfriksjonen i tunnelene er av mindre betydning i forhold til andre parametre, men ved konstant brutto areal øker friksjonskraften noe ved økende ruhet. |
| Tunneltverrsnitt | Stor | Luftmotstanden avtar sterkt ved øking av tunnelarealet. |
| Toghastighet | Stor | Toghastigheten har den største innvirkning på luftmotstanden av alle parametre. Kreftene på toget øker proposjonalt med kvadratet av hastigheten. |
| Toglengde | Betydelig | Friksjonskraften er tilnærmet proposjonal med toglengden, mens trykkraften er uavhengig av togets lengde. |
| Togtype | Samme betydning som i friluft | Formen på nesepartiet av togene viser innflytelse på den induserte trykkbølge. |
Ovennevnte vurderinger gjelder for lange tunneler. For korte tunneler vil motstandskreftene gjennomsnittlig være mindre, på grunn av at toget river med seg luft og dermed setter opp en strømning gjennom tunnelen.
Som det framgår av tabell 4 vil størrelsen av effektbehovet hovedsakelig være bestemt av toghastigheten og blokkeringsgraden, dvs. størrelsen på toget relativt tunneltverrsnittet. Effektbehovet til toget er sterkt økende med økende hastighet og redusert tunnelareal.
Sammenhengen mellom trykk og hastighet er slik at trykket øker nær kvadratisk med hastigheten. Dette medfører for eksempel at ved toghastighet på 200 km/t, som normalprofilene i regelverket er dimensjonert for, er trykk- og sugkreftene ca. 60 % større enn ved en hastighet på 160 km/t.
Samtidig øker trykket nær kvadratisk med forholdet mellom togtverrsnittsareal og fritt lufttverrsnittsareal, Atog/(Atunnel – Atog).
Dimensjonering av tverrsnitt ved lavere hastigheter (< 160 km/t) vil derfor være vel så avhengig av valgte system for tekniske installasjoner, som av opptredende trykk-/sugkrefter. Dimensjonerende tunnelprofil for tunneler med lavere hastigheter vil derfor avhenge av minste tverrsnitt og valgte systemer for tekniske installasjoner som kontaktledning, signal og sikkerhetsutstyr, jf. avsnitt 2.1–2.3.
2.4.3 Krefter på konstruksjoner, installasjoner og utstyr
I forbindelse med bygging av konstruksjoner som vann- og frostsikringshvelv og andre typer utstyr som skilt, kontaktledningsoppheng m.m. i tunneler må størrelsen av de krefter som oppstår bestemmes.
Disse kreftene vil sjelden være dimensjonerende ved bestemmelse av nødvendig tunneltverrsnitt, men det er svært viktig å vite hvilke krefter som opptrer slik at tunnelkledningen og konstruksjonene kan dimensjoneres riktig.
Bestemmelse av trykk- og sugkrefter samt vindhastigheter på konstruksjoner er foretatt med simuleringer og enkelte fullskala måleforsøk. Dette er nærmere beskrevet i kapittel 5 «Trykk- og sugkrefter». Regler for dimensjonering og størrelsen av trykk- sugkrefter og vindhastigheter er gitt i JD 520 kap. 12. Det er her viktig å være oppmerksom på at de gitte karakteristiske laster gjelder for hastigheter opp til 200 km/h med tunneltverrsnitt lik normalprofiler gitt i JD 520 kap. 5 «Konstruksjonsprofiler». Ved andre tunneltverrsnitt må disse kreftene vurderes spesielt.
3 Tunneltverrsnitt ved konvensjonell driving
3.1 Normalprofil for tunneler
Normalprofil for tunneler anvendes når byggverkets lengde over sporets lengderetning er større enn 20 m. Som tidligere nevnt skal det være plass til minste tverrsnitt, kontaktledningsanleggets utliggere og avspenninger, signalanlegg, kabelanlegg osv. Det skal i tillegg være plass til personer som oppholder seg ved siden av sporet mens tog passerer. Dessuten må det tas hensyn til luftmotstand og ev. sikkerhetskrav samt nødvendig hensyn til plass til bygging og vedlikehold av byggverket.
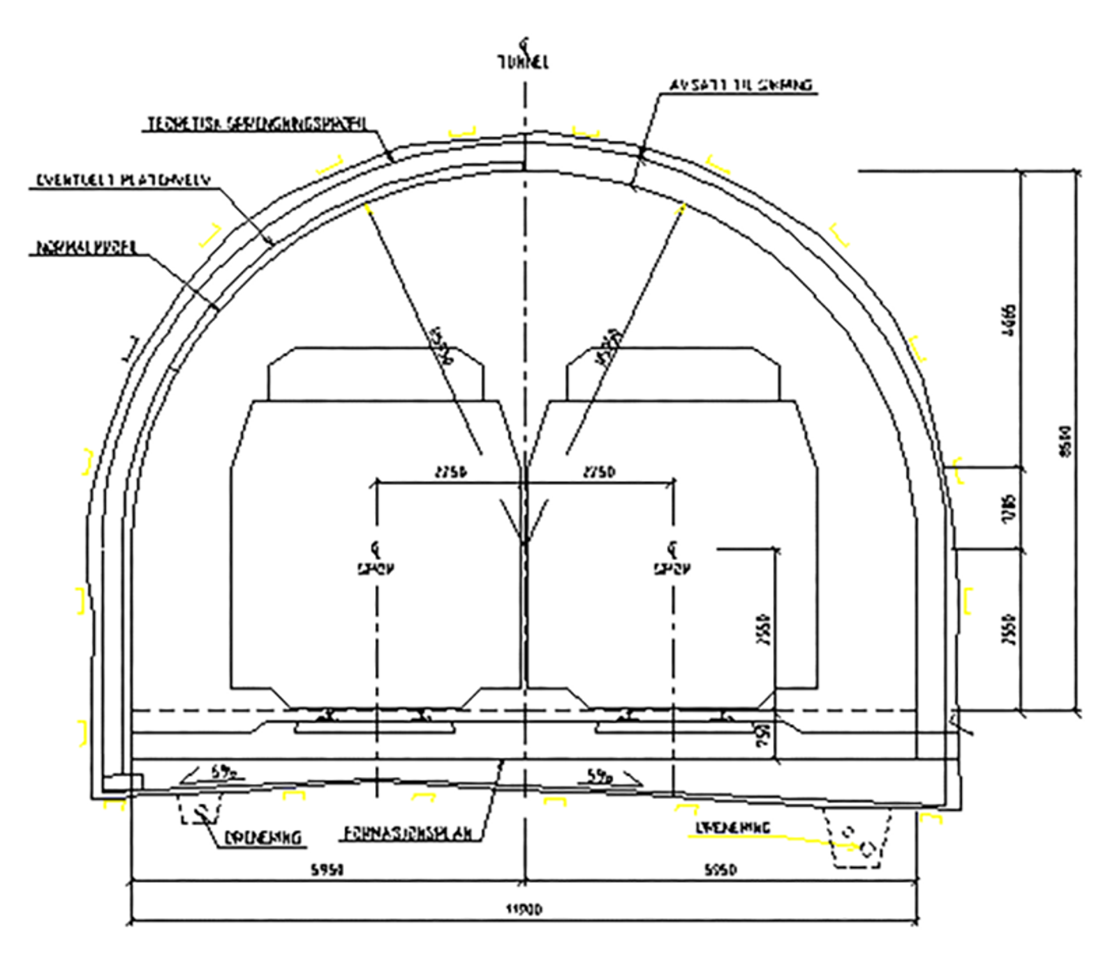
Normalprofilene for enkelt- og dobbelsporet tunnel i figur 6 og 7 gjelder for hastighet 200 km/h, der ovennevnte krav til plassbehov er inkludert. Når det gjelder beskrivelser av nisjer merket A, B og C vises til avsnitt 2.2.2.
For tunneler med vesentlig lavere hastighet enn 200 km/h kan tverrsnittet dimensjoneres spesielt, da nødvendig tverrsnitt er vel så avhengig av valgte system for tekniske installasjoner som av opptredende trykk- og sugkrefter.


3.2 Sammenheng mellom teoretisk sprengingsprofil og normalprofil
Teoretisk sprengningsprofil er det profil som angir begrensningene for sprengning av tunnelen, se figur 8.
Mellom omgrensningen for teoretisk sprengningsprofil og normalprofil skal det være avsatt plass for fjell-, vann- og frostsikring i tillegg til andre nødvendige installasjoner.

Normal avstand mellom normalprofil og teoretisk sprengningsprofil ligger i området 250–500 mm, men må vurderes i hvert enkelt tilfelle. Plassbehovet vil være avhengig av hvilken type fjellsikring og hvilken type konstruksjon for vann- og frostsikring som må velges.
Valg av fjellsikring vil avhenge av bergartenes oppsprekking og om tunnelen ev. krysser en eller flere forkastningssoner. Ved kryssing av slike soner må det for eksempel beregnes et tykkere lag med sprøytebetong enn på partier med lite sprekker og vann.
Valg av konstruksjon for vann- og frostsikring vil også avhenge av om tunnelen krysser svakhetssoner eller soner med store vannlekkasjer. Det må da beregnes plass for tyngre sikring som betongelementer eller full utstøping.
I tillegg vil vann- og frostsikringen også avhenge av de krav som settes til lekkasjer fra omgivelsene. Eksempelvis vil det for tunneler i områder sårbare for eventuelle grunnvannsendringer settes strengere lekkasjekrav enn for tunneler andre steder, og det må settes av større plass til vannsikringen. Det vises for øvrig til kapittel 4 «Driving og sikring».
3.3 Tunnelsåle og overbygning
På grunn av at den utsprengte tunnelsålen vil være ujevn, må det stilles krav til tykkere ballastlag i tunneler og fjellskjæringer enn på åpen linje. Hensikten er å sikre en jevnest mulig elastisitet av sporet, se figur 9.
Under driving av tunneler utføres det rensk av tunnelsålen i frostsonen. Rensken utføres vanligvis slik at det ikke på noe sted ligger igjen mer masse enn 50 mm tykkelse over fast fjell, og fjell som stikker over teoretisk sprengningsprofil fjernes.
I frostfri del utføres rensk ned til toppen av ev. fjellknøler. Stillestående vann i groper dreneres ut, eller eventuelt støpes gropen ut. Fjell som stikker over teoretisk sprengningsprofil fjernes.
I partier med dårlig fjell foretas rensk som i frostsonen.
3.3.1 Oppbygging opp til formasjonsplan
Massene under formasjonsplan bygges opp av gode friksjonsmaterialer, dvs. godt drenerende og frostsikre masser. Formasjonsplanet avrettes med egnet fraksjon.
Graderingen ligger normalt innenfor området 20–120 mm.
I frostfri del av tunnelen bør dreneringssystem og kabelkanal ligge på hver sin side av tunnelen.
3.3.2 Overbygning
Valg av type overbygningskonstruksjon vil ha betydning for nødvendig høyde av tunnelprofilet.
For eksempel vil valg av en fastsporløsning vanligvis være mindre plasskrevende enn en konvensjonell overbygning med sviller og ballast, jf. figur 9.

Det vises til lærebok L 533 når det gjelder beskrivelse av sporets komponenter og de ulike typer overbygning.
4 Fullprofilboret tunneltverrsnitt
4.1 Generelt
Ved TBM-drift av tunneler oppnås et sirkelrundt profil. Dette er gunstig for en enkeltsporet tunnel, der profilkravene fyller sirkelen relativt godt. På grunn av det sirkulære profilet oppnås en stabilitetsmessig gunstig situasjon. Behovet for sikring i en TBM-drevet tunnel er derfor vanligvis mindre enn i en tilsvarende konvensjonelt drevet tunnel. Når det gjelder driving og sikring av fullprofilborede tunneltverrsnitt, vises til kapittel 4 «Driving og sikring».
4.2 Dimensjonering av TBM-profil
Ved dimensjonering av et fullprofilboret tunnelprofil gjelder de samme prinsipper som ved et profil drevet med konvensjonell drift, beskrevet i avsnitt 2.
For å få full utnyttelse av drivemetoden vil det imidlertid være mest gunstig å dimensjonere et tverrsnitt der det ikke er behov for nisjer. Dersom det er behov for nisjer med korte intervaller, f.eks. for utligger og uliggerfeste, vil dette både gå utover den stabilitetsmessige gunstige situasjonen og fremdriften ved at det i etterkant av fullprofilboringen må sprenges ut nisjer.
De krav til plassering av installasjoner gitt i Jernbaneverkets tekniske regelverk er i hovedsak tilpasset et konvensjonelt drevet tunneltverrsnitt. Det er imidlertid flere av disse objektene som ikke har eksakte krav til plassering og som kan forskyves noe. For eksempel kan signal- og teleinstallasjoner i stor grad tilpasses uten behov for nisjer.
Når det gjelder kontaktledningsanlegget er dette vanskelig å tilpasse uten egne nisjer ved små tverrsnitt. Spesielt gjelder dette for system 25 som er det systemet som er godkjent for hastigheter på 200 km/t og samtidig er mest plasskrevende.
I tillegg vil krav til rømningsvei på 1,5 m fra stillestående tog til tunnelvegg begrense muligheten til å senke sporet i det sirkulære profilet.
For en enkeltsporet tunnel vil det være nødvendig med en diameter nær 8,5 meter for å tilfredsstille krav til normalprofil for hastigheter opp til 200 km/h. Et eksempel på et TBM-profil er vist på figur 10. Løsning mhp. nisjer er her ikke vist.

Figur 10: Fullprofilboret tunnelprofil med indre diameter 8,5 m.
For dobbeltsporet tunnel er det mindre gunstig å bruke TBM, fordi diameteren på borhodet må være veldig stor for å få tilfredsstillende areal for to spor.
Dersom TBM skal brukes til driving av dobbeltsporet jernbane vil det vanligvis være mest aktuelt å bore to enkeltsporede løp istedenfor et dobbeltsporet. Det vil da kunne drives tverrforbindelser mellom tunnelene som kan benyttes som rømningsvei.
Litteraturhenvisninger
- NSB Jernbaneskolen. Trykk 383, Lærebok for linjepersonale, 1987.
- Det norske Veritas. Rapport nr. 94-3196, Strømningsberegninger av tog i tunnel, februar 1994.
- Det norske Veritas. Rapport nr. 97-3745, Lufttrykkbelastninger og vindhastigheter i tunneler forårsaket av togtrafikk, januar 1998.