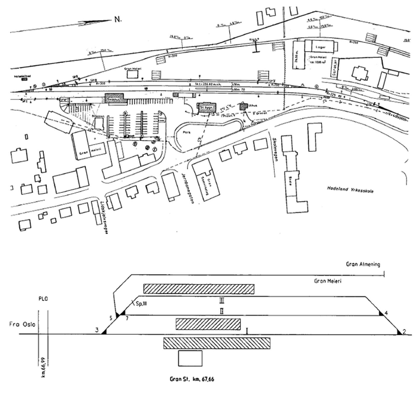
Stasjonsplaner
Publisert: 20. februar 2015
Oppdatert: 25. september 2025
1 Generelt
Et stasjonsanlegg er først og fremst karakteristisk ved sporarrangementet. Det finnes ingen generell teori for hvordan en sporplan skal utformes og dimensjoneres for å gi en optimal løsning. Ethvert stasjonsanlegg må analyseres ut fra sine særegne betingelser: Beliggenhet, trafikkbelastning og funksjonelle oppgaver for de tilstøtende banestrekninger.
Stasjon
Område på banestrekning avgrenset av en eller flere stasjonsgrenser. På stasjoner kan det være plattformer for av- og påstigning.
Stasjonsområde
Stasjonsområdet omfatter alle hovedspor og avgreningsspor innenfor stasjonsgrensene.
Stasjonsgrense
Grensen mellom stasjonen og linjen markert med innkjørhovedsignal, enkelt innkjørsignal, midlertidig innkjørsignal eller innkjørstoppskilt.
Stoppested
Ekstra sted på stasjon der tog stopper for av- og/eller påstigning.
Holdeplass
Sted på linjen hvor tog kan stoppe for av- og påstigning.
Kryssing av tog
På enkeltsporet strekning må kryssing av tog med motsatt kjøreretning foregå på stasjon eller på spesielt innrettede krysningsspor på linjen.
Forbikjøring
Ved forbikjøring (på enkeltsporet eller dobbeltsporet strekning) forstås at 2 tog i samme kjøreretning forandrer rekkefølge. Dette kan skje på stasjon eller på dertil egnede spor på linjen.
De nøyaktige og detaljerte driftstekniske definisjoner av de foran gjengitte begrep er ved JBV samlet i Sikkerhetsreglementet (JD 341).
Personstasjoner, godsstasjoner og industrispor
Jernbanens trafikk avvikles over personstasjoner, godsstasjoner og industrispor (sidespor med forbindelse til fabrikk, gruve, havn). Ved mindre stasjoner kombineres person- og godstrafikken i ett anlegg, ved større stasjoner må de to trafikkslag separeres.
Skiftestasjoner, driftsbanegårder og verksteder
Driftsteknisk er det behov for skiftestasjoner, driftsbanegårder og verksteder for henholdsvis rangering, vedlikehold og reparasjoner. Godsstasjoner og skiftestasjoner tilfredsstiller i alminnelighet ikke definisjonen til begrepet stasjon, men betegnelsene er gått inn i den alminnelige språkbruk.
Hjelpespor
Innenfor stasjonsområdet finnes hjelpespor med forskjellige funksjoner: Lastespor, uttrekksspor for skiftebevegelse og spor eller sporgrupper for henstilling eller sammensetning av tog.
Etter sin beliggenhet langs linjen, sitt sporarrangement og sine trafikkmessige oppgaver kan en stasjon karakteriseres som endestasjon, mellomstasjon, tilslutningsstasjon og avgreningsstasjon.
Større bystasjoner og knutepunktstasjoner kan sporteknisk etter sin utforming betegnes som sekkestasjon (buttstasjon) eller gjennomkjøringsstasjon, men vil ofte være en kombinasjon av de to typer.
Trondheim er trafikkmessig endestasjon for de fleste av stasjonens persontog. Sporteknisk er stasjonen i hovedsak en gjennomkjøringsstasjon, men i tillegg finnes en sekkesporgruppe for tog fra nord.
Inntil 1980 hadde Oslo to sekkestasjoner (Oslo Ø og Oslo V), som trafikkmessig var endestasjoner for alle typer persontog. Den nye Oslo Sentralstasjon er en kombinert gjennomkjøringsstasjon og sekkestasjon. Fjerntog og mellomdistansetog bruker stasjonen hovedsakelig som endestasjon, mens de fleste nærtrafikktog pendler gjennom byområdet med Oslo S som mellomstasjon.
Drammen er avgreningsstasjon for tog fra Oslo til Sørlandsbanen og Vestfoldbanen, men også endestasjon (vendestasjon) for nærtrafikktog fra Oslo.
Myrdal er mellomstasjon på Bergensbanen, og samtidig tilslutningsstasjon for Flåmsbanen.
Geografisk sporplan
Den konstruktive løsning av sporarrangementet for en stasjon utarbeides som en geografisk sporplan med alle geometriske data beregnet og om mulig knytt til et fast koordinatsystem. Målestokken vil i alminnelighet være 1:2000 eller 1:1000, i enkelte tilfeller 1:500.
Skjematisk sporplan
For å lette oversikten over vekselforbindelser og togveier, konsentreres framstillingen i en skjematisk sporplan med vilkårlig målestokk og uten hensyn til kurvatur.
Den skjematiske fremstilling må være konsekvent og med klare signaturer for de enkelte forbindelser. Det må fremgå hvilke togveier som har rett gjennomkjør og hvilke som betinger kjøring i avvik. Sporgrupper kan skjematiseres ytterligere som en skravert enhet uten detaljering av de indre forbindelser.

Figur 6.1: Geografisk og skjematisk sporplan.

Figur 6.2: Skjematisk framstilling av ulike typer sporforbindelser.
Trafikkspor
Spor som i det alt vesentlige fører rutegående tog benevnes trafikkspor. Sekundære spor for skifting (rangering), vognoppstilling med videre benevnes driftsspor.
Sporplanen må tilfredsstille de funksjonelle krav som trafikken ved stasjonen stiller. Planen må være så fleksibel at toggangen kan opprettholdes uhindret ved mindre trafikkforstyrrelser og reparasjonsarbeider.
Trafikkoppgavene for en stasjon vil i alminnelighet endre seg med tiden, og det blir da ofte nødvendig å endre sporarrangementet. Det er derfor av betydning at sporplanen ikke låses definitivt fast av nærliggende bygningskonstruksjoner, og at eventuelle bæresøyler mellom sporene anbringes slik at de i minst mulig grad hindrer endringer i sporplanen.
Stasjonen utformes geometrisk slik at forholdene for nedbremsing, stans ved plattform og akselerasjon blir gunstigst mulig. Gjennomgående tog må kunne passere hurtig. Sporlengden ved plattform må være tilstrekkelig for alle stoppende tog, og krysningsspor må ha tilstrekkelig lengde for all aktuell kryssing og forbikjøring.
Stasjoner på nærtrafikkbaner avvikler i alminnelighet bare persontrafikk. Den tette toggang i rushperiodene stiller spesielle krav til linjeføringen og sporarrangementet.
2 Sporføring på stasjonsområder
På grunn av endringer i trafikkstrukturen har mange av de små stasjonene mistet sin betydning, og et stort antall av dem er nedlagt. Lokalstasjoner for nærtrafikk omkring de større byer vil ofte sporteknisk være små, uten andre spor enn det gjennomgående enkelt- eller dobbeltspor, men kan likevel ha en betydelig trafikk. De øvrige små stasjoner har i alminnelighet sekundære spor for kryssing, forbikjøring eller for lasting og lossing av gods.
Sporområdet for en stasjon må være så oversiktlig som forholdene tillater, og ligge i minst mulig stigning. Plattformsporene bør om mulig ligge på rettlinje og tilnærmet horisontalt og for øvrig innrettes slik at de tog som ikke skal stoppe ved stasjonen kan passere uten reduksjon av hastigheten.
Gjennomkjøringsspor
Stasjonens sporveksler samles i grupper på en slik måte at stasjonens gjennomkjøringsspor får færrest mulig veksler. Gjennomkjøringsspor bør ha rettlinjet gjennomkjør i alle sporveksler. I gjennomkjøringsspor bør sporkryss, dobbelte kryssveksler og usymmetriske dobbeltveksler ikke anvendes.
Gjennomkjøringsspor i kurve kan unntakelsesvis tillates. Det bør da ikke anvendes skarpere kurve enn på fri linje, slik at hastighetsreduksjon blir nødvendig. Der gjennomkjøringssporet ligger i kurve, og det er av betydning at gjennomkjøring kan skje uten hastighetsreduksjon, legges sporet med overhøyde.
For stasjoner med gjennomkjøringsspor i kurve bør det sørges for tilstrekkelig lange rettlinjede partier i stasjonens ender for avgrening til stasjonens øvrige spor (rettlinjet vekselsone).
Foran ytterste sporveksel på stasjonen bør det være et rettlinjet parti på minst 10 m (uten overgangskurve og overhøyderampe). Der hurtiggående tog skal passere uten hastighetsreduksjon, bør denne lengden økes til 20 m. En slik rettlinje er ønskelig for å stabilisere togets gang ved innkjøring fra kurven før toget løper inn i vekselsonen.
Togvei
De spor som beslaglegges av et tog ved kjøring gjennom stasjonen, danner til sammen togveien for vedkommende tog. Togveier som kan benyttes samtidig, kalles uavhengige togveier. Togveier som ligger slik at de respektive togbevegelser vil komme i konflikt med hverandre, benevnes fiendtlige togveier.
Følgende retningslinjer legges til grunn for sporføringen:
- Sporanlegget utformes med så mange uavhengige togveier som mulig. Spesielt er det viktig at hovedtogveiene til de tilstøtende banestrekninger ikke kommer i konflikt med hverandre og såvidt mulig heller ikke med togveier til driftsbanegård og oppstillingsspor.
- For store stasjoner må man i alminnelighet akseptere plankryss mellom viktige togveier, men de nødvendige plankryss må velges slik at stasjonens samlede kapasitet reduseres minst mulig.
- I alminnelighet må det av plassmessige grunner aksepteres sporkryss, kryssveksler og usymmetriske veksler, men det må tilstrebes at det samlede bilde av vekselsonen blir så enkelt som mulig. Hovedtogveiene skal ha så få veksler som mulig, og vekslene bør helst være enkle.
- Hovedtogveiene bør såvidt mulig ha ensrettet krumning, slik at «slangekjøring» (f.eks. over veksler med motsatt avvik) unngås.
- Viktige togveier må konstrueres slik at det finnes reserveforbindelser dersom et spor eller en veksel ved et uhell skulle bli midlertidig blokkert.
- Innenfor et større stasjonsområde legges kurven i alminnelighet uten overhøyde.
- På grunn av de mange veksler er det vanskelig å få lagt inn vertikalkurver. Det kan bli nødvendig å legge inn sporveklser i slake vertikalkurver for å formidle overgangen mellom tilnærmet horisontale stasjonsspor og en tilstøtende strekning i stigning.
- Forbindelsene til driftsbanegård og depotspor gjennomkjøres med liten hastighet og stiller derfor mindre krav til sporgeometrien.
For store stasjoner (særlig knutepunktstasjoner) som krever sporutvikling over et større område, vil det ofte være nødvendig å avvike i betydelig grad fra de her angitte retningslinjer. Linjeføringen for de enkelte togveier innen stasjonsområdet må da overveies spesielt med hensyn på sikkerhetsmessige og kjøretekniske forhold.

Figur 6.3: Sporområdet for en liten stasjon.

Figur 6.4: Gjennomkjøringsspor i kurve – rettlinjet vekselsone.
Sporavstander
De sporavstander man velger for dobbelt- eller flersporede strekninger i henhold til gitte regler, vil på et detaljert plannivå ha stor betydning for endelig utforming av en sporplan.
Tabell 6.1: Minste sporavstand på fri linje for nye baner
| Radius [m] | Sp [m] |
|---|---|
| R < 350 | 4.70 |
| 350 < R < 500 | 4.68 |
| 500 < R < 600 | 4.66 |
| 600 < R < 1000 | 4.64 |
| 1000 < R < 4000 | 4.60 |
| 4000 < R < 5000 | 4.56 |
| R > 5000 | 4.40 |
Den normale sporavstanden (Sp) der rullende materiell hensettes og der driftsoppgaver i forbindelse med rullende materiell utføres er 4.70 m.
Der det skal tas hensyn til plassering av master, høye rekkverk og liknende, er det behov for større sporavstander (min. 5.0 m). I slike tilfeller bestemmes sporavstanden i henhold til JD530. Der det er to eller flere spor mellom to plattformer skal det tas hensyn til muligheten for å plassere et høyt gjerde mellom sporene over en lengde av minst 50 meter forbi plattformendene.
Ved sporplankonstruksjonen gjør det seg gjeldende to motstridende hensyn:
- Sporplanen skal ha størst mulig fleksibilitet. («Alle spor skal forbindes med alle»).
- Sporplanen skal være enklest mulig.
I nyere sporplaner går tendensen tydelig i retning av forenkling. De viktige togveier gis en best mulig utforming, mens de sjelden benyttede forbindelser søkes redusert mest mulig.
3 Stasjoner på enkeltsporet bane
I dette avsnittet behandles prinsippene for de mindre mellomstasjoner på enkeltsporet bane.
Det norske jernbanenettet på ca. 4000 km består i hovedsak av enkeltspor. Bare ca. 165 km av nærtrafikkstrekningene omkring Oslo er utstyrt med dobbeltspor.
Effektive lengde av krysningsspor
Definisjonen på begrepet stasjon er særlig viktig på enkeltsporet bane, hvor stasjonene har en spesiell funksjon i forbindelse med kryssing og forbikjøring. Stasjonene utstyres med to eller flere spor som må ha tilstrekkelig lengde for alle aktuelle kryssinger og forbikjøringer. Den effektive lengde av krysningssporene måles mellom middelmerkene som settes opp mellom sporene for å markere hvor langt tog kan kjøre før det kommer i konflikt med tog i nabosporet.

Figur 6.5: Middelmerker og effektiv lengde.
Personstasjon
For personstasjoner bygges i alminnelighet plattform ved begge krysningsspor for å tillate av- og påstigning for to persontog som begge stopper ved stasjonen.
Sikkerhetsbestemmelsene tillater i alminnelighet ikke samtidig innkjøring i krysningssporene fra begge kanter. Årsaken er at dersom et av togene ikke klarer å stoppe innenfor middelmerket, oppstår kollisjonsfare. Når kryssende tog ventes samtidig inn mot stasjonen, vil det ene tog bli gitt stopp i innkjørsignalet inntil det annet tog er stanset ved stasjonen.

Figur 6.6: Sporsystem ved stasjoner på enkeltsporet bane.
Samtidig innkjør
Samtidig innkjør til stasjonen fra begge kanter kan tillates dersom krysningssporene gis stor lengde eller dersom krysningssporene utstyres med sikringsspor, som med avledende veksler hindrer at kollisjon kan oppstå hvis et tog ikke klarer nedbremsing som forutsatt.

Figur 6.7: Stasjon med sikringsspor (S1 og S2) som tillater samtidig innkjør i begge retninger.
Avgreningsstasjon
På enkeltsporet bane vil en avgreningsstasjon ikke kreve kompliserte løsninger. Men selv ved beskjeden trafikk vil man i alminnelighet sørge for uavhengig innkjøring fra de to grenbaner. For nærtrafikkbaner og for baner med blandet trafikk vil det være aktuelt å øke stasjonens kapasitet ved hjelp av flere spor og sporforbindelser.

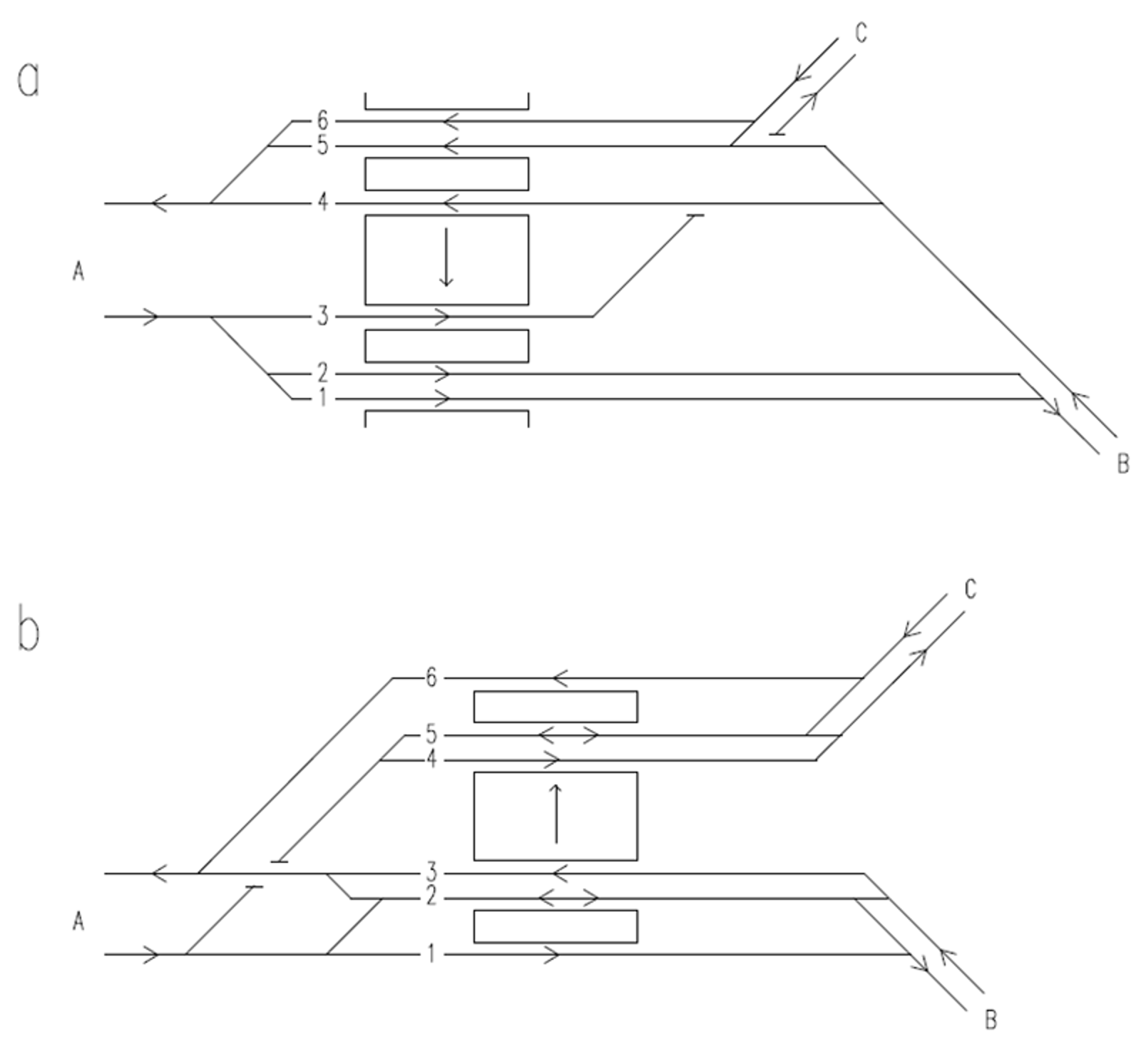
Figur 6.8: Avgreningsstasjoner med henholdsvis linjedrift (a) og retningsdrift (b).
Linjedrift og retningsdrift
Det skilles mellom linjedrift og retningsdrift. Linjedrift innebærer at en og samme plattform betjener trafikken på en bestemt linje, mens retningsdrift innebærer at en og samme plattform betjener trafikken i en bestemt retning. Dette blir nærmere beskrevet i neste kapittel.
Tilslutningsstasjon
En tilslutningsstasjon er en stasjon hvor en sidebane med spesiell sporvidde, med egne togsett eller med eget strømsystem knyttes til hovedstrekningen. Hovedtogene kjører ikke inn på tilslutningsbanen, og passasjerer mellom hovedbane og tilslutningsbane må derfor ta omstigning. Drift av hovedbane er således i liten grad avhengig av drift av tilslutningsbane.

Figur 6.9: Tilslutningsstasjon.
4 Stasjoner på dobbeltsporet bane
I de større industriland er jernbanenes hovedstrekninger i alminnelighet utstyrt med dobbeltspor. Lettere skinnegående transportmidler spesielt for nærtrafikk (S-baner, tunnelbaner, forstadsbaner, sporveier) er som regel også bygget med dobbeltspor.
I Norge har jernbanen i hovedsak bare dobbeltspor på nærtrafikkstrekningene omkring Oslo. I Oslo har dessuten tunnelbanene, forstadsbanene og sporveiene dobbeltspor. I Trondheim har den gjenværende sporveislinje dobbeltspor, mens de tilknyttede forstadsbanestrekninger har enkeltspor.
Når trafikken øker henimot kapasitetsgrensen for en dobbeltsporet bane, oppstår spørsmålet om hvordan sporsystemet bør forsterkes. Trafikk-situasjonen kan kreve et helt nytt enkeltspor eller dobbeltspor uavhengig av det eksisterende. Bestemte kategorier av tog kan da overføres til den nye banen for å avlaste den eksisterende. I andre tilfeller vil det være hensiktsmessig å forsterke det opprinnelige dobbeltspor. Dersom banen skal ha et 3. spor, foreligger det flere varianter som influerer på sporarrangementet ved stasjonene.
4.1 Mellomstasjoner
Den enkleste type mellomstasjon på dobbeltsporet bane har ingen sekundære spor eller sporforbindelser i tillegg til de to gjennomgående hovedspor. Hovedsporene er utstyrt med to sideplattformer eller en mellomplattform.
Mellomplattform
I alminnelighet anordnes overkjøringsspor (sporsløyfer) i begge ender av en mellomstasjon for å kunne dirigere toget over på «uriktig spor» i forbindelse med trafikkforstyrrelser eller reparasjonsarbeider. Ved en slik endring i sporbruken byr mellomplattform på fordeler for trafikantene, som da ikke behøver å skifte plattform, figur 6.10.

Figur 6.10: Stasjon med mellomplattform.
Sideplattform
Sporteknisk har sideplattformer visse fordeler, idet de to parallelle spor kan føres gjennom stasjonen uten å øke sporavstanden, figur 6.11.

Figur 6.11: Stasjon med sideplattformer.
På dobbeltsporet bane er trafikken i alminnelighet stor, og stasjonsoppholdet kan – særlig på nærtrafikkstrekninger – bli en kapasitetsmessig begrensning. Stasjonens kapasitet kan økes ved flere plattformspor.
En stasjon med fire spor kan utnyttes slik at oppholdstiden for to tog som følger etter hverandre får en viss overlapping. Sikkerhetsmessig kan man ikke uten videre tillate at det første tog kjører ut av stasjonen samtidig som det annet tog kjører inn, idet man kan få flankekollisjon i innfasingspunktet dersom det innkjørende tog ikke klarer å bremse ned som forutsatt. Samtidig inn- og utkjør kan tillates dersom avstanden fra plattform til innfasingsvekselen er tilstrekkelig stor eller dersom det anlegges sikringsspor, figur 6.12.

Figur 6.12: Stasjon med 4 spor. Alle spor utnyttes som plattformspor.
En firesporet stasjon kan hensiktsmessig utnyttes til forbikjøring. Dersom det forutsettes hyppig og hurtig forbikjøring, bør forbikjøringssporene ikke ligge ved plattform, figur 6.13 og 6.14.

Figur 6.13: Stasjon med 4 spor. Hurtig forbikjøring kan skje på spor som ikke ligger ved plattform.

Figur 6.14: Forbikjøringsstasjon Shin Kansen, Japan (venstrekjøring).
Vendestasjon
På en sterkt trafikkert bane med blandet trafikk kan det være behov for å vende et større antall tog på visse mellomstasjoner. Behovet forekommer særlig ved enden av en nærtrafikkstrekning. En slik vendestasjon (snustasjon) trenger i alminnelighet en spesiell sporgruppe for uttrekk og kortvarig henstilling av nærtrafikktogene, slik at de ikke blokkerer hovedspor før de skal returnere. Vendesporene samles hensiktsmessig i en egen sporgruppe som legges mellom hovedsporene.
Det tidligere sporarrangementet for Skøyen–Bestumområdet i Oslo (inntil 1998) er karakteristisk. Det skulle tilfredsstille flere funksjoner:
- Skøyen som endestasjon for en rekke nærtrafikktog som vender i uttrekksspor vest for stasjonen.
- Fjerntog fra vest mot Oslo S kan kjøre forbi på stasjonens 3. spor mens nærtrafikktog mot Oslo S står ved plattformen.
- Det 3. spor ved stasjonen danner også en uavhengig forbindelse mellom sporgruppen vest for stasjonen og Filipstad, hvor nærtrafikktogene har sin driftsbanegård og hvor jernbanen også har en betydelig havnetrafikk.
Forbikjøringsstasjon
Tumba stasjon utenfor Stockholm (venstrekjøring) er utformet som en forbikjøringsstasjon hvor fjerntog kan passere mens nærtrafikktog i samme retning står ved plattform. Samtidig er Tumba endestasjon for en del nærtrafikktog, som vender i en sporgruppe mellom hovedsporene.

Figur 6.16: Tumba stasjon utenfor Stockholm.
4.2 Avgreningsstasjoner
I en dobbeltsporet stasjon med avgrening etter stasjonen finnes to punkter som utgjør potensielle faremomenter. Krysningspunktet X må sikres mot frontkollisjon, mens innfasingspunktet F må sikres mot flankekollisjon. Sikkerheten ivaretas ved at innkjøringen til stasjonen fra de to grenbaner belegges med betydelige signalrestriksjoner. Dette nedsetter imidlertid kapasiteten vesentlig, figur 6.17.

Figur 6.17: Avgreningsstasjon på dobbeltsporet bane.
Krysningspunktet X kan unngås ved avgrening i 2 plan, men fortsatt vil innfasingspunktet F bety reduksjon av kapasiteten, figur 6.18.

Figur 6.18: Avgreningsstasjon med to-plans avgrening.
Figur 6.19 viser en videre utvikling av sporplanen.

Figur 6.19: Videreutvikling av sporplanen i figur 6.18.
Den beste løsning får man dersom avgreningsstasjonen utstyres med 4 spor. Med avgreningspunktet G foran plattformen kan oppholdstiden for tog mot B og C overlappe hverandre. Det viktigste er imidlertid at innfasingspunktet F legges etter plattformen. Dersom avstanden fra plattform til innfasingspunktet er lang nok, kan man tillate samtidig innkjøring fra B og C, eventuelt innkjøring fra det ene spor samtidig med utkjøring mot A fra det annet spor. Er avstanden til innfasingspunktet ikke stor nok, kan sikkerheten bedres ved å legge inn ett eller flere sikringsspor S.
Ved dette sporarrangement får avgreningsstasjonen retningsdrift. Tog fra A benytter den ene plattform, mens tog i retning mot A benytter den annen plattform. Ved tett toggang vil passasjerer i retning mot A kunne benytte det først ankommende tog, enten det kommer fra B eller C. For nærtrafikk mot et sentrumsområde vil dette være den beste løsning.
En avgreningsstasjon med 4 spor kan også innrettes for linjedrift. Avgreningen legges foran stasjonen (avgreningspunktet G foran plattform, innfasingspunktet F etter plattform). De 2 grenbaner mot B og C får hver sin plattform. Løsningen er særlig aktuell når det skal bygges en ny grenbane (A–C) til en allerede eksisterende bane (A–B), figur 6.20.

Figur 6.20: Avgreningsstasjonen innrettet for linjedrift.
Trafikkens størrelse må avgjøre hvilken løsning som velges for avgreningsstasjonen. En jernbane eller en forstadsbane med moderat trafikk kan i alminnelighet avvikle trafikken med en enkel avgrening etter stasjonen. En tunnelbane eller en S-bane (Schnell-Bahn) med tett rushtrafikk vil ofte kreve en firesporet løsning med avgrening foran stasjonen.
En avgreningsstasjon kan ha behov for stor omstigning mellom de to grenbaner. Dersom stasjonen bygges for linjedrift med sideplattformer, kan omstigningen i den ene trafikkretning (B–C) foregå «tvers over plattform» eller ved korte gangforbindelser, figur 6.21.

Figur 6.21: Avgreningsstasjon med sideplattformer.
Ved stasjoner med retningsdrift, og ved stasjoner med linjedrift og mellomplattform, figur 6.22, er det mulig å oppnå tilsvarende omstigningsforhold ved å anlegge en ekstra plattform. Med dette arrangement medfører sikkerhetsmessige problemer fordi av- og påstigning foregår på begge sider av toget.

Figur 6.22: Stasjon med mellomplattformer for henholdsvis linjedrift og retningsdrift.
5 Knutepunktsstasjoner
Med betegnelsen knutepunktstasjon vil vi her forestå en jernbanestasjon i en by eller i et tettsted, hvor en betydelig trafikk krever et mer omfattende sporarrangement.
Utformingen av et større stasjonsanlegg må bestemmes på grunnlag av stasjonens geografiske beliggenhet og ut fra overordnede trafikkmessige hensyn. Prognoser for den forventede trafikk blir dimensjonerende for de enkelte deler av anlegget.
Stasjonens hoveddisposisjon vil bli bestemt av de grunnleggende trafikkoppgaver og av de funksjonelle krav til driftsforholdene:
- Ved endepunktene i et linjenett får man sekkestasjoner, mens banen for øvrig får gjennomkjøringsstasjoner – eventuelt med avgrening eller med tilslutning til sidebaner.
- Sporarrangementet avhenger av om stasjonen skal ha ensartet trafikk eller blandet trafikk (persontrafikk/godstrafikk, nærtrafikk/fjerntrafikk, lokaltog/hurtigtog).
- Stasjonens utforming vil være avhengig av om den ligger på en enkeltsporet eller dobbeltsporet banestrekning. Dersom banen er enkeltsporet, vil stasjonens funksjoner i alminnelighet kreve at den nærmeste strekningen inn mot stasjonsområdet gjøres dobbeltsporet.
Sporsystemet må avveies for hvert enkelt anlegg, og en rekke til dels motstridende krav må søkes innpasset i en optimal løsning. Et hovedproblem knytter seg til spørsmålet om en skarpt differensiert eller en mer fleksibel sporbruk:
- Ved blandet trafikk må man overveie om det er hensiktsmessig å skille spormessig mellom nærtrafikk og fjerntrafikk. Det må også vurderes om godstrafikk kan benytte de samme stasjonsspor som persontrafikk.
- Ved endestasjoner må det avgjøres om man vil anlegge særskilte sporgrupper for ankommende og avgående tog.
- Mange stasjoner har sesongtrafikk med sterke trafikktopper som eventuelt vil influere på sporplanen.
- Dersom stasjonen har sterk omstigningstrafikk mellom forskjellige linjer, må sporplanen tilpasses slik at omstigningen blir lettest mulig for passasjerene.
Sporplanen må i tillegg tilfredsstille driftsmessige krav:
- De enkelte togveier må utformes slik at de har sine klare og entydige funksjoner.
- Sporføringen for den enkelte togvei må gi gode kjøreforhold.
- Såvidt mulig må forholdene legges til rette for samtidig innkjør til stasjonen fra forskjellige grenbaner eller sidespor. Ved gjennomkjøringsstasjoner bør det fra ett plattformspor kunne tillates utkjør samtidig med innkjør i andre spor i samme kjøreretning.
- Retningsdrift eller linjedrift må fastlegges, og er av særlig betydning ved avgreningsstasjoner.
- Sporforbindelsen til driftsbanegård og depotspor må ha tilstrekkelig kapasitet.
Ved sporplankonstruksjonen gjør det seg gjeldende to motstridende hensyn:
- Sporplanen skal ha størst mulig fleksibilitet. («Alle spor skal forbindes med alle».)
- Sporplan skal være enklest mulig.
I nyere sporplaner går tendensen tydelig i retning av forenkling. De viktige togveier gis en best mulig utforming, mens de sjelden benyttede forbindelser søkes redusert mest mulig.
5.1 Plattformarrangement
Plattformer på den ene siden av toget

Figur 6.23: Plattformarrangement for av- og påstigning på kun en side av toget.
Sporplanen må konstrueres med utgangspunkt i plattformarrangementet. Bredden på plattformene bestemmer sporavstanden og influerer dermed på hele sporsystemet. Vanligvis bygges plattformene slik at av- og påstigning bare kan foregå på den ene siden av toget. Bæresøyler for plattformtak og liknende anbringes enten i plattformens senterlinje eller mellom sporene.
Plattformer på begge sider av sporet

Figur 6.24: Plattform på begge sider av sporet.

Figur 6.25: 3-plattformsystem.

Figur 6.26: Stasjon med reisegodsplattformer.
Plattformer på begge sider av sporet er sikkerhetsmessig mindre heldig. Kontrollen vanskeliggjøres, og driftspersonalet må holde øye med begge plattformer ved avgang.
Ved enkelte nærtrafikkbaner brukes et 3-plattformsystem med hvert av sporene beliggende mellom to plattformer. Hensikten er at avstigning kan foregå til den ene plattform samtidig med påstigning fra den annen plattform. Ved stasjoner med stor trafikantveksling kan man ved dette arrangement redusere oppholdstiden vesentlig. Et slikt 3-plattformsystem er i bruk på en del av sentrumstasjonene ved enkelte nærtrafikkbaner, f.eks. ved T-banen i Barcelona og ved S-banen i München.
Ved mange utenlandske stasjoner brukes egne reisegodsplattformer, hvor reisegods, ekspressgods, post og tilførsel til spisevogner og sovevogner kan transporteres uavhengig av passasjerene. Systemet krever en relativt stor bredde og medfører ulemper fordi passasjerene lett kan komme til å stige av ved feil plattform. Reisegodsplattformer brukes ikke i Norge.
I alminnelighet er det av plassmessige grunner ikke mulig å føre samtlige plattformspor parallelt ut av plattformområdet. Derfor er det ofte nødvendig å avvike fra ønsket om rettlinjede plattformer.
Krav til avstand og høyde av plattformer er gitt i JD530, kap. 5.
- Avstanden fra sporets senterlinje til plattformkant er på rettlinje 1700 mm (gjelder normal og høy plattform). I kurve må avstanden økes på grunn av utslag og overhøyde.
- Master, søyler og liknende på plattformen skal ha en fri avstand på min. 3.5 m til sporets senterlinje.
- Plattformens høyde er 350 mm (lav) eller 570 mm (normal) over skinneoverkant. For enkelte stasjoner i nærtrafikkområdet som vesentlig vil få stopp av motorvogntog, anvendes en plattformhøyde på 700 mm (høy).
- Plattformer legges som regel med ca 35 ‰ fall mot sporet.

Figur 6.27: Målsatt tverrsnitt for høy og lav plattform.
5.2 Sekkestasjoner
Ankomstspor og avgangsspor
En sekkestasjon (buttstasjon) kan i prinsippet utformes med adskilte spor for ankommende og avgående tog, figur 6.30a. Vanligvis utformes stasjonen slik at man får en fleksibel overlapping i sporbruk. Med den utforming som er vist på figur 6.30b kan spor 1–3 benyttes som ankomstspor, mens spor 2–4 blir avgangsspor.
I en sekkestasjon som danner utgangspunktet for to linjer, kan hver linje få sine separate spor og plattformer, figur 6.30c. Stasjonen får linjedrift. Sporplanen kan også utformes slik at ankomstspor og avgangsspor samles i separate grupper, figur 6.30d, etter prinsippet retningsdrift. Løsningen medfører i alminnelighet et plankryss som nedsetter kapasiteten. Ved sterk trafikk (særlig for nærtrafikkbaner) kan det bli nødvendig med toplankryss.
En sekkestasjon kan også bli mellomstasjon for tog mellom de 2 grenbaner. Med en utforming som vist på figur 6.30e kan spor 2 og 3 benyttes som mellomstasjon («vendespiss») mellom linje A og B, idet toget her skifter kjøreretning. Løsningen medfører flere plankryss.

Figur 6.28: Endestasjon for nærtrafikkbane. Uttrekksspor etter stasjonen.

Figur 6.29: Endestasjon for nærtrafikkbane. Overkjøringsspor foran stasjonen.

Figur 6.30: Ulike typer sekkestasjoner.
Endestasjoner for nærtrafikkbaner har som oftest uttrekksspor for vending av tog etter stasjonen. Enkelte nærtrafikkbaner har overkjøringsspor foran plattformen, slik at plattformsporene kan brukes for trafikk i begge retninger. Det sistnevnte arrangement, som f.eks. brukes ved Metroen i London, gir gode adkomstforhold for passasjerene enten man har mellomplattform eller sideplattformer.
5.3 Klassisk sekkestasjon
Driftsbanegård og depotspor
Figur 6.31 viser skjematisk et eksempel på en klassisk utforming av en eldre sekkestasjon (Paris, venstrekjøring), hvor forholdene er lagt tilrette for størst mulig fleksibilitet. Sporbruken er differensiert slik at avgående og ankommende fjerntog disponerer hver sin side av stasjonen. Nærtrafikktog er samlet i en egen sporgruppe midt i stasjonen. Figuren viser også separate forbindelser til driftsbanegård og depotspor.

Figur 6.31: Eldre sekkestasjon (fleksibel, men komplisert).
- Ved normal drift har stasjonen 6 spor for avgående fjerntog (spor 1–6), 3 spor for nærtrafikk (spor 7–9) og 4 spor for ankommende fjerntrafikk (spor 8–13).
- Ved sesongtopper med stor avgående fjerntrafikk kan spor 1–8 disponeres for fjerntog. Nærtrafikken benytter spor 9–11, og ankommende fjerntog spor 12–13.
- Ved sterk ankommende fjerntrafikk disponeres sporene slik at det ankommende fjerntog kan benytte spor 7–13, mens nærtrafikktog og avgående fjerntog bruker henholdsvis spor 4–6 og spor 1–3.
Stasjonen har med denne utforming nådd en høy grad av fleksibilitet, men sporarrangementet er komplisert og krever et stort antall dobbelte kryssveksler. Løsningen etter dette prinsipp er nå forlatt.
5.4 Gjennomkjøringsstasjoner
En større gjennomkjøringsstasjon utstyres med en rekke parallelle spor, som fortrinnsvis utformes for retningsdrift for å unngå plankryss.
Figur 6.32 viser skjematisk en gjennomkjøringsstasjon med 6 spor, prinsipielt 3 spor i hver retning. Sporene disponeres etter behov for fjerntog eller nærtrafikktog. Gjennomgående godstog benytter også plattformsporene. I alminnelighet vil man supplere dette prinsipp med flere veksler, slik at flere av sporene kan brukes for kjøring i begge retninger.

Figur 6.32: Gjennomkjøringsstasjon.
Figur 6.33 nedenfor viser det samme prinsipp systematisert for en noe større trafikk. Nærtrafikken benytter spor 3 og 5, mens fjerntrafikken disponerer spor 1 og 7. Spor 2 og 6 kan benyttes av nærtrafikk eller fjerntrafikk etter behov. Gjennomgående godstog har et eget spor (4) for kjøring i begge retninger.
Figur 6.34 nedenfor viser det samme prinsipp, supplert med flere spor. Nærtrafikk og fjerntrafikk er her separert med 2 spor i hver retning for hvert av disse trafikkslag. Gjennomgående godstog har egne spor lagt utenfor plattformsporene.
En gjennomkjøringsstasjon med avgrening til flere baner vil få en mer komplisert sporplan. I alminnelighet er det nødvendig – og oftest også trafikkmessig berettiget – å akseptere et større antall plankryss.
Figur 6.35 nedenfor viser prinsipp for en gjennomkjøringsstasjon med avgrening til 2 baner utformet for retningsdrift.
Figur 6.36 nedenfor viser en stasjon av tilsvarende omfang utformet for linjedrift.
I figur 6.37 nedenfor er sporene kombinert slik at stasjonen kan brukes fleksibelt for retningsdrift eller linjedrift.
I figur 6.38 nedenfor er vist hvordan sporarrangementet kan utformes for retningsdrift eller linjedrift uten plankryss.
I de følgende skisser er spor spesielt beregnet på fjerntog og godstog markert slik:

Figur 6.33: Gjennomkjøringsstasjon for større trafikk.

Figur 6.34: Gjennomskjøringsstasjon med separate spor for nærtrafikk og fjerntrafikk.

Figur 6.35: Gjennomkjøringsstasjon med avgrening for retningsdrift.

Figur 6.36: Gjennomkjøringsstasjon med avgrening for linjedrift.

Figur 6.37: Sporarrangement for fleksibel bruk av enten retnings- eller linjedrift.

Figur 6.38: Sporarrangement for retningsdrift (a) eller linjedrift uten plankryss (b).
5.5 Kombinert gjennomkjørings- og sekkestasjon
En knutepunktstasjon vil ofte måtte kombinere sporgrupper for gjennomgående trafikk med spor som danner en sekkestasjon for visse trafikkmål.
Figur 6.39a viser en slik stasjon som samtidig er avgreningsstasjon. Stasjonen er gjennomkjøringsstasjon for forbindelsene A–C og B–C og samtidig sekkestasjon for linje A og B.
Figur 6.39b viser i prinsipp samme stasjon med gjennomkjøringssporene B–C uten plankryss.

Figur 6.39: Kombinert gjennomkjørings- og sekkestasjon.
5.6 Forbindelse til driftsbanegård og depotspor
Ved en større knutepunktstasjon vil det være behov for egne sporgrupper til driftsbanegård, verksted, lokstall og for skifting og oppstilling av tog. Beliggenhet av driftssporgruppene vil i alminnelighet være bestemt av terrengforhold og bebyggelse. Forbindelsen til disse sporgrupper må innpasses slik at stasjonens kapasitet ikke settes i fare.
Driftsbanegård og oppstillingsspor
Driftsbanegård og oppstillingsspor vil ofte bli liggende på den ene siden av hovedsporene. Ved moderat trafikk vil dette gi gode løsninger, men man unngår da ikke plankryss med motgående trafikk enten ved innkjøring eller ved utkjøring.
Ved sterk trafikk på hovedsporene vil det være en fordel om driftsbanegården kan legges mellom hovedsporene. Innkjøring og utkjøring kan da foregå uten plankryss med motgående trafikk.

Figur 6.40: Driftsbanegård og oppstillingsplass på den ene sidens av hovedsporene.

Figur 6.41:Driftsbanegård og oppstillingsplass mellom hovedsporene.
Store sekkestasjoner
Ved de store sekkestasjoner bør driftsbanegården helst anbringes bak stasjonen, som vist ved D1. Et ankommende tog kan da trekkes ut til driftsanlegget i togets kjøreretning, og et avgående tog kan tilsvarende tilstilles stasjonen fra driftsbanegården på den mest hensiktsmessige måte. Ved nyanlegg eller ombygging er det imidlertid sjelden anledning til å velge den mest hensiktsmessige plassering. En beliggenhet som vis ved D2 kan også være en god løsning. Derimot vil driftsanlegget D3 få mange kryssende togveier.
Mange store knutepunktstasjoner er tungdrevne fordi driftsbanegård og oppstillingsspor har en uhensiktsmessig beliggenhet og stor avstand til stasjonen.

Figur 6.42: Plasseringsmuligheter for driftsbanegård ved sekkestasjon.
6 Oslo sentralstasjon
Oslo S er en kombinert gjennomkjørings- og sekkestasjon med avgrening til 4 baner i øst. Stasjonen har i alt 19 spor, hvorav 12 er gjennomgående.
Sporplanen er ikke differensiert spesielt for fjerntog og mellomdistansetog. Disse togslag har felles sporbruk, og betegnes her for korthets skyld som fjerntog. Det overveiende antall av disse tog har foreløpig sin endestasjon på Oslo S, men sporarrangementet er bygget opp med tanke på at et økende antall fjerntog kan føres gjennomgående gjennom stasjonen. [2].
Alle nærtrafikktog i stivt rutemønster er gjennomgående. En del av de østgående innsatstog i rushperiodene har sin endestasjon i sekkespor på Oslo S.
Godstrafikken er konsentrert om Alnabru Sentralskiftestasjon, som ligger ved Hovedbanen i en avstand av 7 km fra Sentralstasjonen. Godstog fra Drammensbanen til Alnabru S føres gjennom stasjonen via plattformspor. Godstog fra Østfoldbanen og Gjøvikbanen til Alnabru S føres utenom stasjonen.
Sporplanen faller i 3 hovedgrupper med en viss overlapping, som vist i tabellen under.
| Spor | Tog |
|---|---|
| Spor 1–5 | Fjerntog |
| Spor 6–11 | Nærtrafikktog og godstog |
| Spor 12–19 | Fjerntog |
De enkelte spor er i hovedsak forutsatt disponert som under, figur 6.2.
| Spor | Tog |
|---|---|
| Spor 1 | Sekkespor for ankommende fjerntog fra Hovedbanen |
| Spor 2–5 | Ankommende fjerntog fra Hovedbanen og avgående til Drammenbanen. Spor 2 har i tillegg ankommende flytog fra Gardermoen og avgående til Asker |
| Spor 6 | Gjennomgående godstog mot vest |
| Spor 7–8 | Gjennomgående nærtrafikktog mot vest |
| Spor 9–10 | Gjennomgående nærtrafikktog mot øst |
| Spor 11 | Gjennomgående godstog mot øst |
| Spor 12 | Ankommende fjerntog fra Drammenbanen |
| Spor 13 | Fjerntog og flytog fra Drammenbanen til Gardermoen |
| Spor 14 | Ankommende og avgående flytog |
| Spor 15–19 | Sekkespor for ankommende og avgående fjerntog på Hovedbanen, Gjøvikbanen og Østfoldbanen |
Med dette arrangementet får stasjonen retningsdrift for fjerntrafikk på Hovedbanen og Drammensbanen. Vestgående tog for disse baner disponerer spor 1–8, østgående tog spor 9–13.
De sydligste spor har til en viss grad linjedrift, idet fjerntog til Gjøvikbanen ofte benytter spor 16–17 og fjerntog til Østfoldbanen spor 18–19.
Nærtrafikken er her altså samlet som retningsdrift i midten av stasjonen, mens fjerntrafikken er delt mellom stasjonens nordre og søndre sporgrupper. En slik oppdeling av fjerntrafikken øker stasjonens kapasitet, fordi antall kryssende togveier reduseres. Sporarrangementet tillater betydelig overlapping av de enkelte funksjoner, slik at stasjonen som helhet har en betydelig fleksibilitet.
Godstogspor 6 og 11 kan også benyttes som reserve for nærtrafikktog i rushperiodene, fordi det da ikke vil bli kjørt godstog gjennom stasjonen. Ved sesongtopper og ved trafikkforstyrrelser kan disse spor også betjene fjerntog.
7 Forenkling av sporanlegg
Tidligere var det et krav at også de sjelden forekommende trafikksituasjoner (spesialtog, spesielle sesongtopper) måtte tilgodeses med de ønskelige spor og sporkombinasjoner. Dette medførte store og kompliserte sporanlegg med en rekke sjelden benyttede spor som krevde betydelige vedlikeholdsutgifter. I nyere sporplanlegging går tendensen klart i retning av en forenkling. De mange «ønskelige» sporforbindelser med forholdsvis liten utnyttelse erstattes av enklere løsninger med hovedvekten på de sterkest belagte og mest kapasitetskrevende togveier.
Ved konstruksjon av en sporplan oppstår det da en konflikt mellom fleksibilitet og enkelthet. Fleksibiliteten må selvfølgelig opprettholdes for den daglige trafikk og for de trafikksituasjoner som oppstår ved normalt forekommende trafikkforstyrrelser. Derimot renonserer man på spor, sporforbindelser eller sporgrupper som bare får betydning i sjeldne eller ekstreme tilfeller.
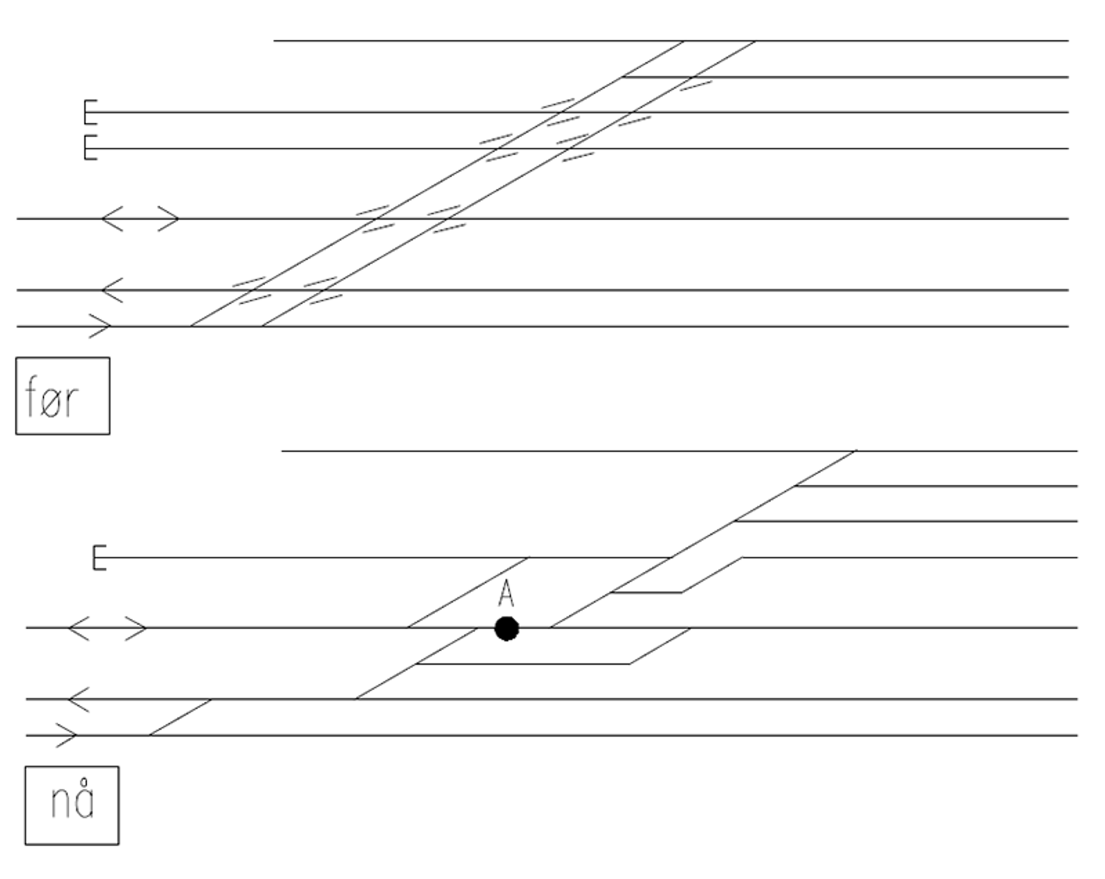
Deutsche Bundesbahn gjennomførte i 1960-årene en betydelig forenkling og rasjonalisering av sporanleggene i sine knutepunktstasjoner og på linjenettet for øvrig. Hensikten var å spare inn på de høye vedlikeholdskostnader ved «rasjonalisering uten investering». Eksemplene viser at en slik sanering ikke behøver å medføre vesentlig kapasitetsreduksjon [3]. Figurene 6.43 til og med 6.46 illustrerer eksemplene skjematisk.
Eksempel 1
Forbindelsen mellom hovedsporet og skiftesporene hadde tidligere dobbelt avgrening som krevet 37 vekselenheter, mens den nye enkle avgrening bare krever 10 vekselenheter. I den nye løsningen blir punkt A sårbart, men kan forsterkes ved en eller to tilleggsforbindelser som vist med stiplet linje. Den nye løsning får da 12 eller 14 vekselenheter.

Figur 6.43: Eksempel 1.
Eksempel 2
Den tidligere løsning hadde adskilte avgreningsspor for persontog og godstog, men den nye utforming har felles avgrening. Antallet vekselenheter reduseres fra 21 til 7 – eller eventuelt til 9 dersom det er nødvendig å forsterke punkt A.

Figur 6.44: Eksempel 2.
Eksempel 3
Stasjon med sidespor for hensetting og vognbehandling på begge sider av hovedsporene. Den gamle plan hadde to fullstendige, kryssende forbindelser mellom sidesporgruppene på begge sider og krevet 38 vekselenheter. I den nye løsning er forbindelsen mellom de to sidesporgrupper sterkt redusert, og det nye sporarrangement kan klare seg med 13 vekselenheter.

Figur 6.45: Eksempel 3.
Eksempel 4
Viser en avgrening fra en ikke særlig belastet dobbeltsporet bane til en enkeltsporet sidebane. Sporarrangementet er vesentlig forenklet.

Figur 6.46: Eksempel 4.
8 Litteraturhenvisninger
- Modern Modern ideas in connection with the siting and arrangement and large passenger stations. Monthly Bulletin of the International Railway Congress Assosciation. Volume XLIII-No 2, February 1966 p. 177–261. Volume XLIII-No 6, June 1966 p. 1057–1072.
- Gardsjord, Svein: Planlegging av stasjonsanlegget for Oslo Sentralstasjon. NSB-teknikk nr 4, 1976, s. 74–78.
- Träbert, Rudolf: Der wirtschaftliche Fahrweg. Die Bundesbahn, Heft 15–16, 1964 s. 525–539.
- Zeuge, Haus. Structural design criteria for the new lines of the German Federal Railway conforming to the objectives of the European Infrastructure Master Plan. Rail International No 5, 1975, p. 371–396.
- Baumann, Müller, Thalmann, Wachter og Widmer: Die grossen Bauten und Projekte der SBB. Eisenbahntechnische Rundschau, Heft 12, 1963, s. 622–686.
- Rutschmann, W: Das Project 1971 der Gotthard – Basislinie. Schweizerische Bauzeitung, Heft 18, 1972.
- Svennar, Odd: Sporanlegget for Oslo Sentralstasjon. NSB-teknikk nr 1, 1987 s. 1–36.
- Svennar, Odd og Kvaal, Tore: Spor- og stasjonsplaner. NTH 1987/1994.