Skjøter
Publisert: 20. februar 2015
Oppdatert: 2. juli 2025
1 Innledning
Tidligere var skinneskjøten en svært viktig sporkomponent som ble viet stor oppmerksomhet. I dag har vi eliminert de aller fleste skinneskjøtene ved å sveise sammen skinnene til helsveiste skinnestrenger. Men fremdeles er det strekninger som ikke kan av tekniske eller økonomiske årsaker helsveises. På slike strekninger er det viktig at de åpne laskede skinneskjøtene fungere optimalt slik at slagpåkjenningene på sporkomponenter og rullende materiell blir minst mulig.
Selv om vi klarer å eliminere alle de åpne skjøtene er vi fremdeles avhengig av noen spesialskjøter. Dette gjelder isolerte skjøter for elektrisk isolering mellom to skinner og glideskjøter som brukes for å ta opp lengdebevegelser i forbindelse med lange bruer. Dette kapittelet gir en beskrivelse av disse skjøttypene.
2 Åpne skjøter
Selv om nær opptil hele Bane NORs hovednett i dag er helsveist finnes det partier som har åpne skjøter med lasker. Dette er gjerne partier med så krappe kurver at sporet ikke kan helsveises av fare for solslyng. Laskeskjøter brukes dessuten midlertidig ved bygging av nye spor/sporombygging inntil sammensveising finner sted.
2.1 Laskeskjøtens konstruksjon
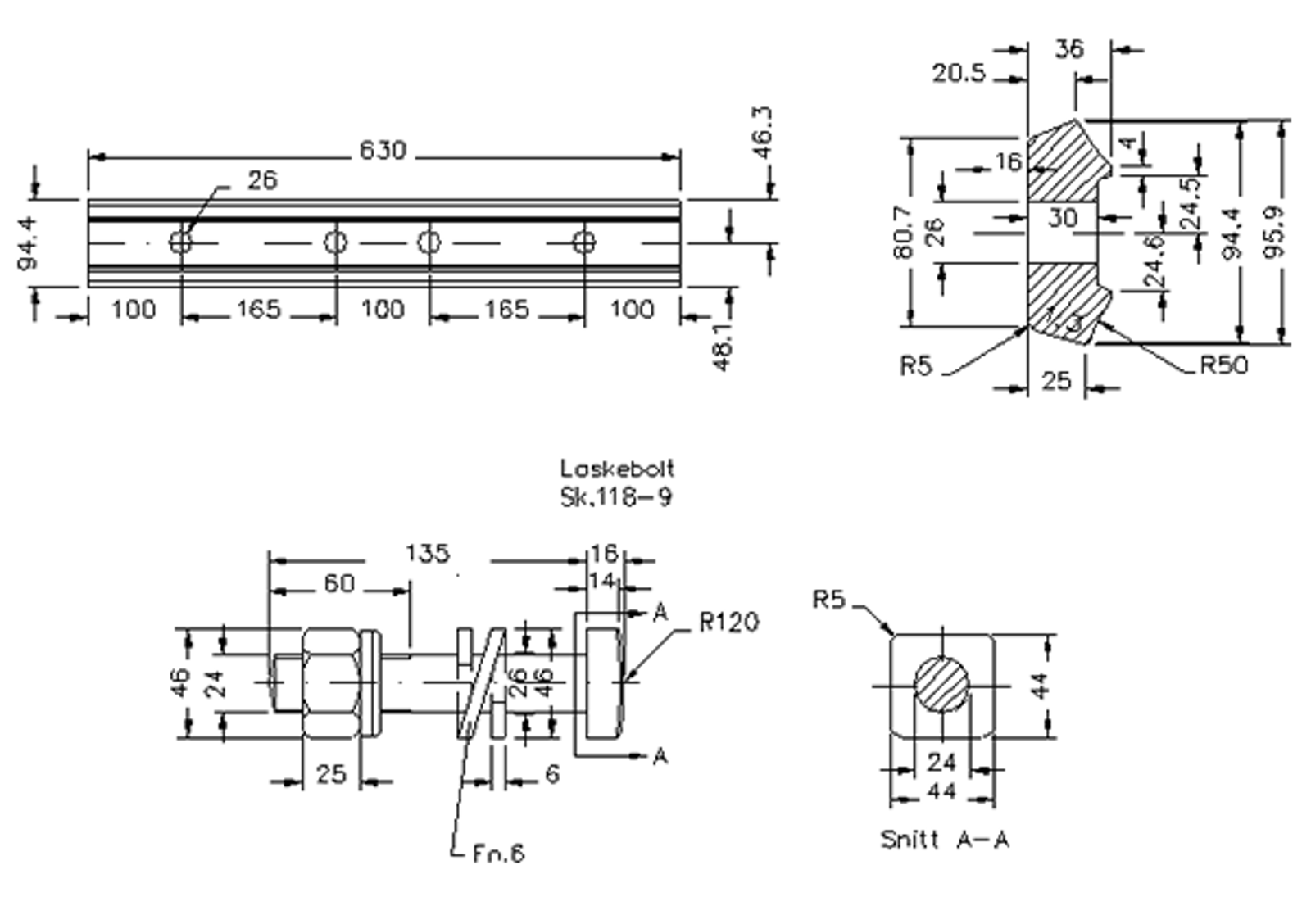
En laskeskjøt består av 2 lasker og vanligvis 4 laskebolter, muttere og fjærringer. Laskene fremstilles av valsede profiler. I dag benyttes vanligvis stålkvaliteten St 37 og St 52. Av lasker finnes to hovedformer:
- Vinkellask
- Flatlask
Vinkellasker ble tidligere mye brukt på spor med spikerfeste der de bidro til å motvirke skinnevandring ved at det er laget et innhakk i lasken for skinnespikeren. I dag anskaffes bare flatlasker. Figur 6.1 viser lask for S-profilene som brukes i Bane NOR.

Figur 6.1: Deler til laskeskjøt for S41/S49 og S54 skinner.
I et lasket spor er skinneskjøten det svake punkt. Laskene har et langt lavere treghetsmoment enn skinnen. Ved togpassering vil derfor nedbøyningen under skjøten bli større enn under skinnen. Dette sammen med åpningen mellom skinneendene gjør at vi får slag i skjøten med store dynamiske tilleggskrefter. Slaget som oppstår har 3 årsaker:
- Hjulet faller ned i skjøtåpningen
- Det danner seg et steg
- Nedbøyning av selve skjøten
Hjulet faller ned
Når hjulet passerer skjøtåpningen «faller» det ned i denne. Det dreier seg om brøkdeler av en millimeter ved små skjøtåpninger. Ved større skjøtåpninger og mindre hjuldiameter blir fallet og dermed slaget større.
Steg
Stegdannelsen skyldes at den skinne som hjulet ruller av synker mer ned enn den skinnen som hjulet ruller inn på. Det blir dermed et steg som hjulet slår mot når det må «klatre» opp på neste skinne. En dårlig oppakket skjøt gir store steg og dermed et kraftigere slag.
Nedbøyning

Figur 6.2: Slag ved hjulets passering av skjøten.
Bøyemotstanden i skjøten er lavere enn for skjøten for øvrig. Det blir derfor en større nedbøyning når hjulet passerer over skjøten enn sporet for øvrig. Dette bidrar også til slagpåkjenning i skjøten.
Den samlede slagpåkjenning kan etter hvert føre til en permanent deformasjon i skinneender og lasker. Dette vil ytterligere forsterke slagpåkjenningene. Kraften som overføres mellom hjul og skinne er tilnærmet proporsjonal med produktet av skjøtvinkelen og hastigheten. Skjøtvinkelen kan vi dele opp i to komponenter:
- Den permanente deformasjonen i skjøten
- Nedbøyning pga. hjullasten
En nedbøyd skjøt øker altså sporkreftene og dermed påkjenningene i nærheten av skjøten. Dersom ikke skjøtene vedlikeholdes vil de store slagpåkjenningene føre til nedbrytning av ballast og sviller, noe som igjen øker nedbøyningen. Ved manglende vedlikehold vil man med andre ord raskt komme inn i en «ond sirkel» der deformasjoner i skjøten og nedbrytning i sviller og ballast forsterker hverandre.
En lasket skjøt kan bygges på to forskjellige måter avhengig av plassering i forhold til svillene:
- Svevende skjøt
- Skjøt på dobbeltsville
Når skjøtene ligger på dobbeltsville får de en bedre understøttelse. Lasket spor finner vi normalt bare på tresviller. På betongsviller er sporet vanligvis helsveist. Skulle det i spesielle tilfeller være nødvendig med lasket spor på betongsviller bør skjøtene legges på dobbeltsviller av tre. I en byggeprosess legges midlertidige laskede skjøter svevende i betongsvillespor.
2.2 Varmeromsregulering
I laskeskjøten skal det finnes mulighet for bevegelse slik at skinnens lengdeendring pga. temperaturendringer kan tas opp i skjøten. Dermed påvirkes ikke sporet. Skjøtåpningen er nominelt på 10 mm, og kan variere mellom 0 og 20 mm.
Tar vi utgangspunkt i at skinnetemperaturen varierer mellom – 30 °C og + 50 °C kan en fritt opplagret skinne være maksimalt 20 m dersom skjøtåpningen skal holde seg innenfor yttergrensene. Skinnen er imidlertid ikke en fritt opplagret bjelke siden det finnes motstand mot lengdeendring i befestigelse, ballast og i selve skjøten. Skinnelengden kan derfor være en del lengre. Lasket spor har skinnelengder opp til 40–45 m.
En normal verdi for friksjonsmotstand i en lasket skjøt er ca. 100 kN. Denne motstanden kan imidlertid variere en del avhengig av antall laskebolter og tiltrekkingsmoment. Ballastmotstanden kan varierer svært mye. Ved spikerbefestigelse kan vi ha en motstand så lav som 0,5 kN/m, mens vi kan ha opp til 15–20 kN/m ved frosset ballast og moderne befestigelse.

Figur 6.3: Skjøtåpning – skinnetemperatur i lasket spor.
Figur 6.3 viser sammenhengen mellom skjøtåpning og skinnetemperatur i et lasket spor med en 40 meter lang skinne der vi utnytter yttergrensene for skjøtåpningen før vi når ekstremtemperatur. Den stiplede linjen representerer endring i skjøtåpning for 40 meter lange skinner som er fritt opplagret. Vi antar at skinnetemperaturen er + 10 °C ved skinnelegging og at sporet legges med skjøtåpninger på 8 mm. (punkt C i figuren). Hvis skinnetemperaturen stiger må først motstanden i lasken (R) overvinnes. Dette skjer uten lengdeendring etter temperaturøkning ΔtR. Deretter må motstanden i befestigelse/ballast (r) overvinnes, noe som krever en temperaturøkning på Δtr. Dette medfører en liten endring i skjøtåpningen. Lengdeendringen er omvendt proporsjonal med ballastmotstanden (r). Når både motstand i lask og ballast/befestigelse er overvunnet vil skinnen bevege seg fritt fra punkt B inntil skjøten er tett ved punkt C. Ved en ytterligere temperaturøkning vil vi få en økning i skinnens aksialkraft i stedet for en lengdeendring. Dette fortsetter til høyeste skinnetemperatur er nådd, ca. + 55 °C.
Dersom temperaturen senere faller, reduseres først trykkraften i skinnen. Denne blir 0 ved punkt C i figuren. Deretter må motstanden i lask og ballast/befestigelse overvinnes to ganger gjennom temperaturfallet 2•(ΔtR+Δtr). Ved ytterligere temperaturfall beveger skinnen seg fritt fra punkt E til maksimal skjøtåpning på 20 mm er nådd i punkt F. En temperaturreduksjon utover dette fører til strekkspenninger i skinnen.
Når temperaturen igjen øker, reduseres først strekkraften, så overvinnes skjøtmotstand og motstand i ballast/befestigelse (F til G), og siden reduseres skjøtåpningen etter linjen H-C og ringen er sluttet.
Det er viktig at et lasket spor blir lagt med riktige skjøtåpninger. Dersom ikke denne er korrekt vil vi kunne få store langsgående krefter i sporet, noe som øker risikoen for solslyng og skinnebrudd. I lasket spor på Bane NORs nett skal skinnene legges med skjøtåpninger i henhold til «varmeromstabellen» i JD 531, kap. 10.
I et lasket spor vil oppbremsing og akselerasjon føre til skinnevandring. Det er derfor nødvendig å kontrollere, og om nødvendig justere skjøtåpningene. Dersom skjøtåpningene avviker mer enn verdier som er gitt i tabell 6.1, må skjøtåpningene justeres.
Tabell 6.1: Tillatt avvik fra verdier i varmeromstabellen
| Skinnelengder l (m): | Tillatt avvik fra verdier i varmeromstabellen |
|---|---|
| l≤18 | ± 2 mm |
| 18 < l≤30 | ± 4 mm |
| l > 30 | ± 6 mm |
3 Isolerte skjøter
I et helsveist spor er laskeskjøten erstattet av sveiste skjøter slik at vi får kontinuerlige skinnestrenger med de fordeler dette innebærer. Imidlertid er det med jevne mellomrom nødvendig å hindre elektrisk strøm å passere over et punkt i skinnestrengen. I slike punkt er det nødvendig å legge inn såkalte isolerte skjøter. Isolerte skjøter brukes til å seksjonere sporet i sporfelter for signalsystemet og for å skille mellom seksjoner i returledningen av kjørestrømmen.
3.1 Krav til isolerte skjøter
De isolerte skjøtene skal kunne motstå de mekaniske påkjenninger fra trafikken og fra langsgående krefter i skinnene pga. temperaturendringer. I tillegg må skjøtene yte tilstrekkelig elektrisk motstand slik at strømlekkasjer over skjøten unngås.
Mekaniske krav
Skjøter som skal anvendes i helsveist spor må kunne ta opp de store aksialkreftene som oppstår uten at skjøten «åpner seg». Det kreves at skjøtene skal kunne ta opp aksialkrefter på min. 1000 kN uten å «åpne seg».
Elektriske krav
I og med at skinnene brukes som returleder for kjørestrømmen flyter det til dels svært høye strømstyrker i skinnene. De isolerte skjøtene må være konstruert for å tåle den høye strømstyrken under alle klimatiske forhold uten at overslag finner sted. Isolerte skjøter som brukes ved Bane NOR skal ha en krypstrømsvei på min. 6 .mm. Den elektriske motstanden over skjøten skal være min. 0,5 MΩ målt med 500 V spenningsforskjell mellom skinneendene.
3.2 Skjøtenes konstruksjon
Alle isolerte skjøter består av 2 lasker, laskebolter og muttere og et profilmellomlegg. I tillegg er det for noen typer nødvendig med et isolerende lag mellom lask og laskekammer (isolasjonsmansjett), samt isolerende fòringer mellom laskehull og laskebolt.
Det finnes mange forskjellige skjøter som er tilgjengelig på markedet. Grovt kan vi dele skjøtene inn i 3 grupper:
- Åpne («pustende») skjøter
- Skjøter med kraftoverføring gjennom laskebolter
- Limte skjøter
Videre kan vi dele inn skjøtene etter hvordan de monteres. Noen skjøter må monteres i verksted og senere sveises inn i sporet, mens andre skjøter er konstruert for direkte montering i sporet.
3.2.1 Åpne isolerskjøter
De åpne isolerte skjøtene er i prinsippet lik en «vanlig» laskeskjøt, men har isolerende lasker og et isolerende profilmellomlegg. Åpne isolerskjøter brukes bare i lasket spor og som midlertidige skjøter i helsveist spor. Åpne isolerskjøter skal ikke overføre aksialkrefter, og trenger således samme vedlikehold med justering av varmerom som den «vanlige» laskeskjøten.
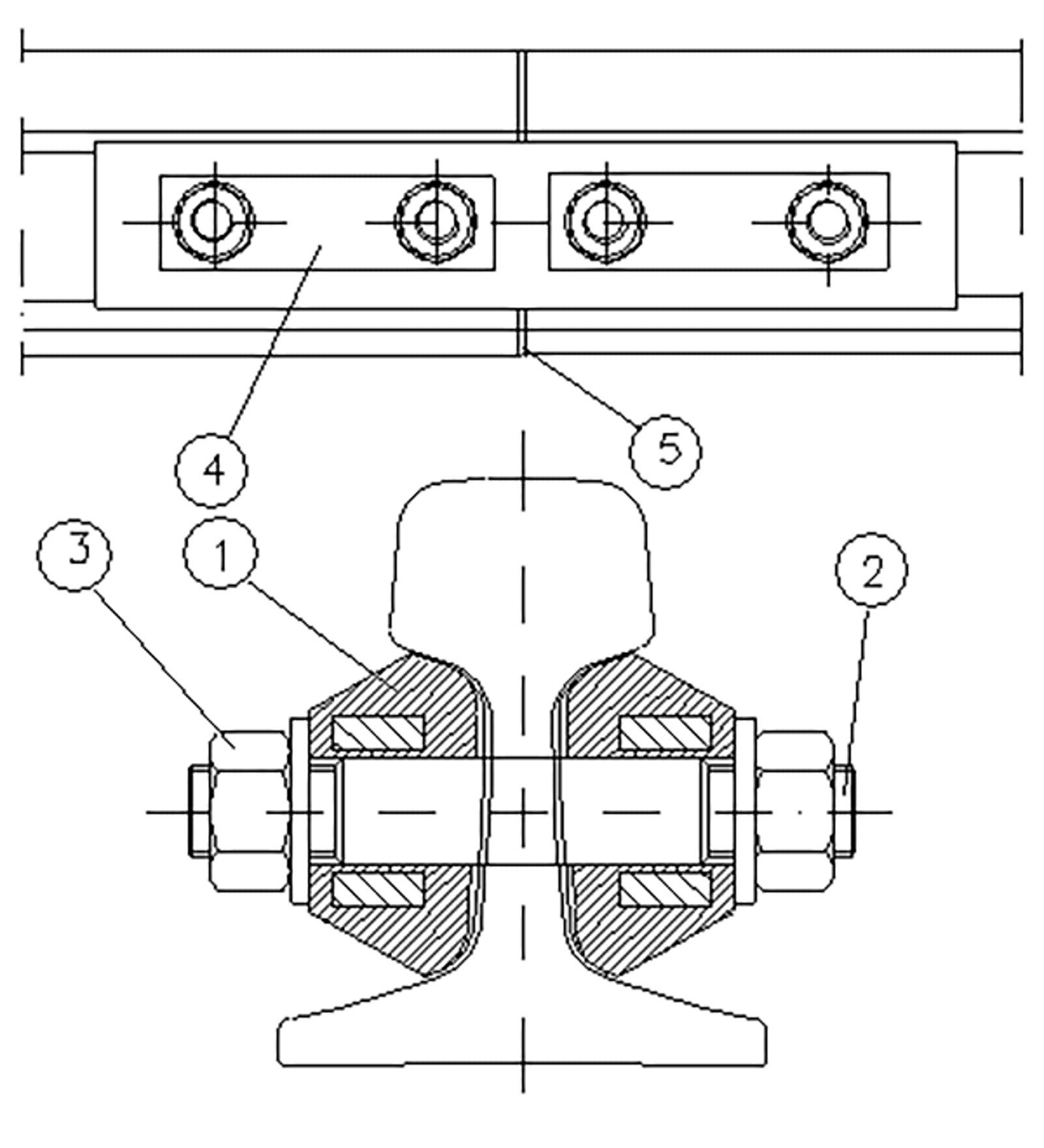
Figur 6.4 viser en åpen isolerskjøt med lasker av trelaminat. Dette er den første type isolerte skinneskjøt som ble tatt i bruk i Norge. I dag er denne skjøttypen en kuriositet som bare finnes på noen stasjonstomter.

Figur 6.4: «Permalli» isolert skjøt med lasker av laminert tre.

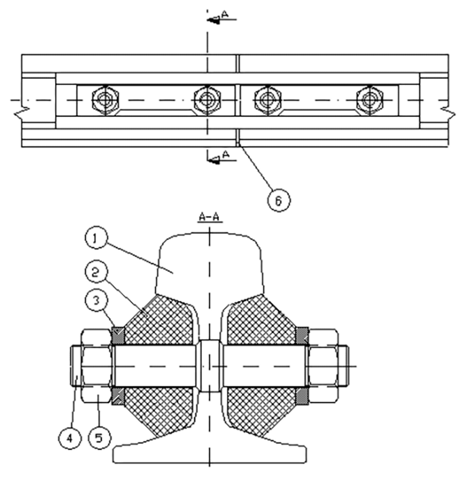
Figur 6.5: «Benkler» – isolert skjøt.
Den åpne isolerte skjøttypen som er i bruk i dag ved Bane NOR er den såkalte «Benkler»-skjøten (figur 6.5). Dette er en skjøt som har lasker av et kunststoff som kalles «Harmoid» med innstøpte stålkjerner. Denne skjøttypen er konstruert for å kunne monteres direkte ute i spor, uten bruk av lim.
3.2.2 Skjøter med kraftoverføring gjennom laskebolter
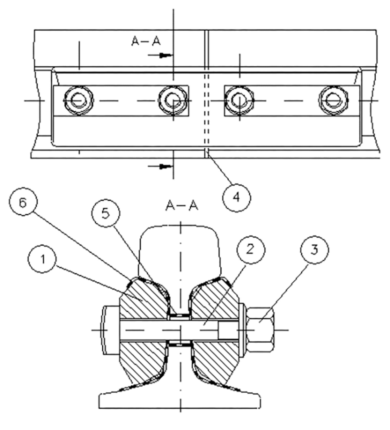
Dette er skjøter som er konstruert for å kunne monteres direkte i helsveist spor uten bruk av lim. Ved temperaturendringer i skinnen blir aksialkrefter overført delvis ved friksjon mellom lask og skinne og delvis direkte gjennom boltene i laskehullene. Figur 6.6 viser skjøten av denne typen som er i bruk i Norge.
«Exel»-skjøten har lasker som er støpt i glassfiberarmert plast. For å oppnå høy friksjon mellom skinne og lask blir laskeboltene tiltrukket med et moment på 800 Nm. Den høye forspenningskraften vi får krever laskebolter med høy fasthet. I denne skjøttypen benyttes bolter med fasthetsklasse 10/9.
Selv om friksjon mellom lask og skinne bidrar til kraftoverføring, blir den største delen av aksialkreftene overført gjennom laskeboltene i laskehullet. For at aksialkraften skal kunne fordele seg noenlunde likt over alle laskebolter må skjøten monteres med svært høy presisjon. Toleransen for plassering av laskehullene er ± 0,2 mm, og toleransen for laskehullets diameter er +0,0/-0,2 mm. Dette er langt mindre toleranser enn det som er nødvendig for andre skjøttyper. For å unngå varige deformasjoner i laskehullene brukes det bolter med større diameter i denne type skjøter (33 mm for S49/S54 og 36 mm for UIC60).

Figur 6.6: «Exel» – isolert skjøt.

Figur 6.6: «Exel» – isolert skjøt.

Figur 6.7: 6-hulls isolert skjøt fra Tenconi SA.
Figur 6.7 viser en annen type isolert skjøt der aksialkrefter blir overført gjennom laskeboltene. Denne skjøten, som produseres av Tenconi SA, er i prinsippet samme type skjøt som «Benkler» – skjøten vist i figur 6.5, med kunstofflasker som har innstøpt stålkjerne. Her har imidlertid skjøten 6 laskehull og er konstruert for montering med minimale toleranser.
3.2.3 Limte isolerte skjøter
I limte isolerte skjøter skjer aksialkraftoverføringen gjennom en limfuge. Limte isolerte skjøter har normalt stållasker. Det finnes to hovedtyper limte skjøter; de som må prefabrikeres i verksted, og de som kan monteres direkte i spor.
Skjøter limt med 2-komponent epoxy-lim.
«S-skjøten»
Den mest vanlige isolerte skjøten i Norge er den såkalte «Schmidt-skjøten», også kalt «S-skjøten». Figur 6.8 viser «S»-skjøten i «normal» utgave og figur 6.9 i «forsterket» utgave. «S»-skjøten har smidde stållasker (1), vanligvis i en stålkvalitet tilsvarende St 70. Den forsterkede utgaven har en lask med et utvidet tverrsnitt i området rundt skinneendene enn normalutgaven. Dette gjør at skjøten blir noe stivere med mindre nedbøyning som resultat.

Figur 6.8: «S»-isolert skjøt i «normal» utgave.

Figur 6.9: «S»-isolert skjøt i forsterket utgave.
Mellom lasken og skinnen ligger det en isolasjonsmansjett av kunststoff (6) På begge sider av isolasjonsmansjetten ligger det en limfuge av 2-komponent epoxy lim. Bolter (2) og muttere (3) har fasthet 10/9 og tiltrekkes med et moment på 900–1000 Nm. For å unngå elektrisk lekkasje må boltene isoleres fra laskehullene. Dette gjøres med fôringer (hylser) av kunststoff (5).
Epoxy limfugen gjør at denne skjøttypen kan ta opp de maksimale aksialstrekkreftene som oppstår i skinnene med god margin dersom skjøten er riktig montert. Pga. den lange herdetiden til epoxy-limet (24 timer) må denne skjøten monteres i verksted. Skjøtene leveres derfor med i ønskede lengder. I Bane NOR anvendes 5,4 m, 6,6 m som standard lengder.
I de fleste isolerte skjøter er skinnene kappet vinkelrett på skinnens lengdeakse. I de senere årene er det imidlertid utviklet en «S»-skjøt hvor skinneendene er kappet med en vinkel på 30 eller 450 i forhold til skinnens lengdeakse. Dette gjøres for å oppnå en jevnere overgang for hjulet mellom de to skinneender. Figur 6.10 viser en slik skjøttype der vinkelen mellom profilmellomlegget og skinnens lengdeakse er 300. På dobbeltspor bør denne skjøttypen sveises inn slik at kjøreretningen blir «med» spissen.

Figur 6.10: IVG-30 isolert skjøt.
De fleste isolerte skjøter i Norge er konstruert med 4 laskehull. I noen andre land er det imidlertid vanlig å bruke skjøter med 6 laskehull. I noen sporveksler på Bane NORs nett kan vi også finne limte isolerte skjøter med 6 laskehull. (figur 6.11)

Figur 6.11: Limte isolerte skjøter med 6 laskehull.
Skjøter limt med kunstharpiksmørtel

Figur 6.12: «MT»-isolert skjøt i forsterket utgave.
Figur 6.12 viser «MT»-skjøten. Denne skjøten har samme type stållasker (1) som «S»-skjøten. Laskene er imidlertid her belagt med et isolasjonsmateriale fra leverandør. Denne skjøttypen er beregnet for montering direkte i spor og limes med en spesiell kunstharpiksmørtel (5) som fyller hele mellomrommet mellom lask og skinne. Kunstharpiksmørtelen som blandes på arbeidsstedet inneholder stoffer som er skadelig å innånde. Ved montering av denne skjøttypen må det derfor brukes åndedrettsvern (gassmaske) med kullfilter. Laskeboltene (2) og muttere (3) er i fasthetsklasse 10/9 og skal tiltrekkes med et moment på 980 Nm. Laskeboltene må isoleres fra laskehullene ved hjelp av isolasjonshylser (4)
Skjøtene som leveres til Bane NOR er i såkalt «H»-utgave (H=høyisolert) Dette innebærer at det i overgangen mellom lask og skinne er frest inn et spor hvor det legges en stripe med silikon (7). Dette gjøres for å hindre overslag i dette området i fuktig vær.
I likhet med «S»-skjøten kan «MT»-skjøten leveres i «normal» og «forsterket» utgave avhengig av tverrsnittet på laskene. Herdetiden til kunstharpiksmørtelen er avhengig av temperaturen. Herdetiden er 6 timer ved + 10 °C og 1 time ved + 25 °C.
3.3 Valg av isolerte skjøter
Som vi har sett finnes det mange forskjellige typer isolerte skjøter. Ved valg av skjøttype må man ta hensyn til flere faktorer som:
- mekaniske egenskaper
- elektrisk isolasjonsevne
- montering
- pris
Mekaniske egenskaper
I et helsveist spor vil den isolerte skjøten være svakt punkt som medfører en diskontinuitet i de vertikale elastisitetsforholdene i sporet. Fra et sporteknisk ståsted vil det være ønskelig med en skjøt med best mulig mekaniske egenskaper. Dvs. en skjøt som gir best mulig vertikal stivhet og som best kan ta opp langsgående krefter. De skjøter som har de beste mekaniske egenskapene er utvilsomt de limte skjøtene med stållasker. Stållaskene er vesentlig stivere enn kunstofflasker og vil dermed gi mindre nedbøyning ved togpassering. Ved hjelp av limfugen vil limte skjøter kunne ta opp større aksialkrefter enn skjøter med kraftoverføring gjennom friksjon og bolter. Dette forutsetter imidlertid at montering og liming utføres korrekt.
Elektrisk isolasjonsevne
Oppgaven til de isolerte skjøtene er å isolere to skinner elektrisk fra hverandre. De isolerte skjøtene er ikke bare en sporkomponent, men er også en viktig komponent i så vel signalsystemet, som strømforsyningsanlegget. Ofte må isolerte skjøter skiftes ut fordi de ikke lenger har den nødvendige isolasjonsevne. Mens limte skjøter med stållasker har best mekaniske egenskaper er det skjøter med kunstofflasker som monteres uten lim som gir best isolasjon. Dette skyldes dels at man ikke behøver å isolere laskeboltene fra laskehullene. Dersom limfugen i en limt skjøt blir utmattet slik at skjøten åpner seg vil ofte isolasjonshylsene bli ødelagt slik at strøm vil lekke gjennom boltene i skjøten. Et annet svakt punkt er den tynne isolasjonsmansjetten til «S» skjøten. I noen tilfeller har det ved Bane NOR blitt brent hull i denne. På strekninger hvor man vet at det flyter høye strømmer i skinnene som ofte gir isolasjonsproblemer i skjøtene, kan det være en fordel å bruke isolerte skjøter med lasker av kunststoff.
Montering
På mange strekninger har man begrenset tid til å montere skjøtene. Enkel montering vil derfor være en viktig faktor for valg av skjøttype. Minst tidkrevende og enklest er de «åpne» isolerte skjøtene som monteres uten lim, men disse kan ikke brukes i helsveist spor. Skjøter med kraftoverføring gjennom bolter, (som f.eks Exel) er også lite tidkrevende, men her må boring av laskehull utføres med svært høy presisjon. Dette stiller store krav til personell og utstyr til boring.
Av de limte skjøtene kan «MT»-typen med kunstharpiksmørtel monteres direkte i spor. Monteringstiden for «MT»-skjøter kan imidlertid bli lang pga. herdetiden til kunstharpiksmørtelen. «S»-skjøten er som regel den mest tidkrevende skjøten å få inn i sporet fordi den må sveises inn i sporet med to skjøtsveiser.
Pris
Dersom vi ser isolert på anskaffelsesprisen er de limte skjøtene av «S»-typen klart dyrest å bygge inn i spor fordi vi her må ta med utgiftene til to skjøtsveiser i sporet. De billigste skjøtene å anskaffe vil som regel være skjøter med kunststofflasker som monteres uten lim. Ved valg av skjøttype bør vi imidlertid ta hensyn til levetidskostnaden for skjøten, og ikke isolert på anskaffelsespris. Det hjelper lite å installere en rimelig skjøt dersom trafikken og forholdene i sporet fører til at skjøten bryter sammen etter kort tid og må skiftes ut.
4 Glideskjøter
På lange bruer kan temperaturendringer føre til så store lengdeforandringer i brukonstruksjonen at vi får uakseptable kraftoverføringer til skinnene. I slike tilfeller må vi bygge inn glideskjøter i sporet som kan ta opp lengdebevegelsene i brua. I Bane NOR skal bruer uten gjennomgående ballast ha glideskjøt dersom bruas dilatasjonslengde er over 100 m. Bruer med gjennomgående ballast skal ha glideskjøter dersom bruas dilatasjonslengde er over 120 m. Du kan finne mer informasjon om krefter i skinnene på bruer og plassering av glideskjøter i L532, kap. 5, «Aksialkrefter i helsveist spor».
4.1 Konstruksjonsprinsipper
En glideskjøt består i prinsippet av en tunge og en stokkskinne, der enten tungen eller stokkskinnen beveger seg sammen med brua i lengderetningen. Det finnes to hovedtyper av glideskjøter:
- Glideskjøter med sporutvidelse
- Glideskjøter uten sporutvidelse
4.1.1 Glideskjøter med sporutvidelse
Dette er glideskjøter som er bygget opp som et tungeparti i en sporveksel med tunger laget av et tungeprofil og en stokkskinner tilvirket av et vanlig skinneprofil. I motsetning til sporveksler blir tungene i glideskjøten holdt fast inntil stokkskinnene og kan bare bevege seg i lengderetningen. Figur 6.13 viser en prinsippskisse av en glideskjøt med sporutvidelse.
Når denne type glideskjøter er helt sammentrukket vil sporvidden være normal sporvidde, dvs. 1435 mm. Når tungene beveger seg utover vil sporvidden øke. Denne økningen i sporvidde virker negativt inn på kjøredynamikken til tog som passerer glideskjøten.

Figur 6.13: Glideskjøt med sporutvidelse – prinsippskisse.

Figur 6.14: Glideskjøt med sporutvidelse.
4.1.2 Glideskjøter uten sporutvidelse
Av glideskjøter uten sporutvidelse finnes en type for små bevegelser opp til maks 180 mm, og en type som kan ta opp svært lange bevegelser, helt opp til 1600 mm.
Figur 6.15 viser glideskjøt som er tilvirket av vanlige skinneprofiler eller fullskinneprofiler som er kappet på langs. Denne skjøttypen kan bare brukes til bruer med relativt korte dilatasjonslengder, da maks bevegelse i skjøten er 180 mm.

Figur 6.15: Glideskjøt uten sporutvidelse for korte dilatasjonslengder.
Den mest moderne typen av glideskjøter er skjøter hvor tungen holdes fast og stokkskinnen beveger seg. Figur 6.16 viser prinsippskisse av denne typen. Tungen er høvlet konkav på den side som vender mot stokkskinnen. Tungen er høvlet med en radius som er så stor at stokkskinnen vil krumme seg utenpå tungen når skjøten «trykkes» sammen. Ved uttrekk av glideskjøten vil stokkskinnen rette seg ut igjen. På denne måten vil sporvidden hele tiden holde seg konstant.

Figur 6.16: Glideskjøt uten sporutvidelse for lange dilatasjonslengder – prinsippskisse.
Figur 6.17 viser en glideskjøt der stokkskinnen beveger seg og tungen holdes fast. Det er denne typen som anvendes ved bygging av nye spor i Norge. I Norge har vi 3 utgaver av denne glideskjøten, avhengig av hvor stor langsgående bevegelse som tillates i skjøten:
GL 200 ± 100 mm bevegelse GL 600 ± 300 mm bevegelse GL 1200 ± 600 mm bevegelse

Figur 6.17: Glideskjøt uten sporutvidelse.
Ved lange dilatasjonslengder blir det relativt store bevegelser i området rundt brufuga, noe som kan fører til store åpninger. De største glideskjøtene har derfor en konstruksjon som sørger for at skinnene får nødvendig understøttelse over brufuga Denne konstruksjonen består av stålsviller i brufuga som er opphengt i kraftige stålbjelker som går på langs utenpå glideskjøten (figur 6.18). Stålsvillene kan gli langsetter bjelken de er opphengt i. Posisjonen i sporets lengderetning kontrolleres av kontrollarmer med flere ledd.

Figur 6.18: Konstruksjon for å sikre understøttelse av skinnene over brufuga.
Figur viser glideskjøtkonstruksjoner på brua over Storebælt i Danmark. Her er to glideskjøter montert «back to back» hvor hver glideskjøt kan ta opp 800 mm bevegelse. Den totale kapasiteten til glideskjøtene blir dermed hele 1600 mm.

Figur 6.19: Glideskjøter på bru over Storebælt i Danmark.
5 Litteraturhenvisninger
- Overbygningens komponenter – Skjøter Sørlie Per Hermann – forelesningsnotat – NBIU-kurs 1994.
- Lærebok for linjepersonalet (trykk 383)NSB Jernbaneskolen – 1987.
- Isolerskarvar NBS-information nr. 20 – 1989.
- Skinneudtræk NBS-information nr. xx – 1999.
- JD 530 – Jernbaneverkets tekniske regelverk – Prosjektering – 1998.