Befestigelse
Publisert: 23. september 2011
Oppdatert: 4. februar 2025
1 Innledning
Skinnebefestigelsen forbinder skinnen med svillen. Skinnebefestigelsens primære oppgave er å sikre sporvidden. Videre skal den overføre krefter fra skinnen til svillen og bidra til motstand mot utknekking av sporet. De krefter som påvirker befestigelsen, er laterale og vertikale krefter på grunn av framføring av det rullende materiell samt langsgående krefter som oppstår ved temperaturendringer. Ved akselerasjon og bremsing av rullende materiell i sporet oppstår også langsgående krefter.
2 Generelt om befestigelsestyper
Det skilles mellom direkte og indirekte, og mellom fjærende og ikke fjærende befestigelsestyper. Underlagsplater benyttes på tresviller for å redusere flatetrykket og dermed minske slitasjen på svillen.
I et direkte feste festes skinnen direkte til svillen. I et indirekte feste festes skinnen til en underlagsplate og deretter underlagsplaten til svillen. Skinnespiker og Pandrol-befestigelse er eksempler på den første typen, Hey-Back og K-befestigelse på den siste.


Figur 1: Øverst: direkte ikke-fjærende befestigelse («K»-befestigelse).
Nederst: indirekte fjærende befestigelse (Hey-Back).
Ikke-fjærende befestigelser gir en stiv forbindelse mellom skinne og sville. Dette betyr store spissbelastninger i festet ved togpasseringer og at slitasjen og dermed vedlikeholdet blir stort.
På grunn av de store belastningene mister den ikke-fjærende befestigelse kontakten med skinnene og de fastholdes derfor bare i sideretning. Dette medfører problemer med skinnevandring. Skinnespiker og skruer er eksempler på denne type befestigelse.
I en fjærende befestigelse holdes skinnene på plass ved hjelp av klemfjærer med stor holdekraft. Disse kan ta opp store belastninger uten å bli ødelagt og holder skinnen på plass både i lengde- og sideretning. Samtidig tillater den fjærende befestigelse skinnen å fjære noe opp og ned ved togpassering. Klemkraften i en elastisk befestigelse opprettholdes selv om skinnen beveger seg noe vertikalt i forhold til svillen.
Mellom skinnen og betongsvillen benyttes et mer eller mindre elastisk mellomlegg som skal sørge for økt motstand mot skinnevandring, hindre slitasje (på betongsviller uten underlagsplate) og minske spissbelastningen på svillene. For å sørge for elektrisk isolasjon er det på betongsviller også montert plastisolatorer mellom klemfjær og skinne samt mellom ankeret eller skruene og skinnen.
En elastisk befestigelse er en forutsetning for å kunne helsveise sporet siden bare denne kan hindre skinnevandring (som medfører større fare for solslyng) og begrense størrelsen på åpningene ved skinnebrudd om vinteren. For lasket spor på lavt trafikkerte baner stilles ikke samme strenge krav til befestigelsen og eventuelt kan benyttes en enkel spikerbefestigelse.
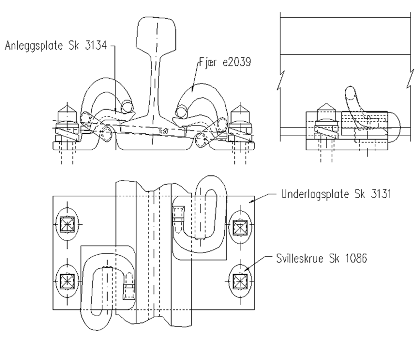
Nedenfor er vist eksempel på en moderne høyelastisk befestigelse på betongsville. Befestigelsen består av følgende komponenter:
- Innstøpt anker (skulder) i betongsville
- Elastisk mellomlegg i gummi mellom skinne og betongsville
- isolatorer mellom skinne og klemfjær samt mellom anker og skinne
- Klemfjær

På tresviller må det benyttes skruet forbindelse og underlagsplate i stål mellom skinne og sville. For å sikre tilstrekkelig friksjon mellom skinne og underlagsplate bør befestigelsen ha et tynt mellomlegg mellom disse komponentene.
De sportekniske kravene kan i prinsippet deles inn i fire deler:
- Opprettholde tilstrekkelig motstand mot skinnevandring
- Sikre sporvidden
- Hindre utknekking av skinner
- Overføre de vertikale og horisontale krefter fra skinne til sville
I tillegg kommer krav som gjelder montasje og vedlikehold samt elektrisk isolering.
3 Befestigelsens oppgaver
3.1 Motstand mot skinnevandring
Den motstand som en skinnebefestigelse kan utøve mot skinnevandring, er et mål på hvordan den vil kunne ta opp de langsgående krefter i skinnene.
De langsgående kreftene oppstår pga. temperaturvariasjoner og ved akselerasjon eller bremsing av tog. De siste mekaniske kreftene er små i forhold til de termiske. Befestigelsen må motvirke de langsgående kreftene i sporet slik at solslyng ikke oppstår.
Kravene til skinnevandringsmotstand er betydelig strengere i et helsveist spor enn i et lasket spor. I det laskede sporet finnes skjøtåpninger som tillater at det blir en viss bevegelse. Imidlertid er det feil å anta at lasket spor er sikrere mot solslyng enn et helsveist spor. Dersom skinnevandring oppstår slik at skjøtåpningene tettes, vil det laskede sporet oppføre seg som et helsveist. Ved en dårligere befestigelse som vanligvis finnes i et lasket spor, kan derfor solslyng lett oppstå.
I helsveist spor kreves det normalt at befestigelsens skinnevandringsmotstand er to ganger større enn ballastens evne til å ta opp langsgående krefter. Det innebærer at svillen vil bevege seg i ballasten før skinnen beveger seg i forhold til svillen. Ballastens langsmotstand settes vanligvis til 5 kN for en halvsville. Dette er en lav verdi som gjelder for et nyjustert spor med pukkballast. På vinteren med frossen ballast er selvsagt ballastmotstanden flere ganger høyere og overstiger befestigelsens motstand.

Befestigelsens skinnevandringsmotstand avgjør lengden av pustepartiene (a) i begge ender av et helsveist spor. Denne lengden avgjør igjen hvor mye skinnene beveger seg eller med andre ord størrelsen på åpningen ved skinnebrudd. En stor motstand mot skinnevandring medfører korte pustepartier i det helsveiste sporet. Ved skinnebrudd ved lave temperaturer blir derfor åpningen liten. Dette vil kunne bidra til at risikoen for avsporing reduseres. I noen land stilles det krav til maksimal skinnebruddsåpning. Dette bestemmer dermed kravet til minste tillatte motstand mot skinnevandring som befestigelsen må kunne utøve.
Skinnevandringsmotstanden skal selvsagt være tilstrekkelig stor også ved dynamiske belastninger, dvs. ved togpassering.

Faktorer som påvirker skinnevandringsmotstanden er:
- klemkraft til befestigelsen
- friksjon mellom skinne og mellomlegg
- friksjon mellom mellomlegg og sville eller underlagsplate
- friksjon mellom skinnefotens overside og fjæren i befestigelsen
Størst betydning har klemkraften. Denne er på 7–15 kN/fjær i de tilgjengelige befestigelsessystemer som er på markedet i dag. Skinnevandrings-koeffisienten (skinnevandringsmotstand/klemkraft) er omtrent 0,8 for de vanligste befestigelsestypene. For Hey-Back ligger koeffisienten på 0,9.
Ved valg av skinnebefestigelsessystem er det meget viktig å vurdere hva som skjer med klemkraften ved slitasje på isolatorer eller mellomlegg. Generelt gjelder at klemkraften opprettholdes mye bedre i en befestigelse med lang oppspenningsvei enn i en befestigelse med kort oppspenningsvei. I sistnevnte tilfelle kan klemkraften gå mot null selv ved relativt liten slitasje.
3.2 Sporvidde
Som nevnt tidligere er en av skinnebefestigelsens primære oppgaver å sikre sporvidden. Den skal klare å ta opp de laterale (tverrgående) og vertikale krefter uten at sporvidden påvirkes.
Det vanligste problemet er for stor sporvidde. Årsaken til dette kan være:
- skinneslitasje
- at skinnen har flyttet seg på svillen
- at skinnen ruller i forhold til svillen
I utgangspunktet ville det være naturlig å tro at skinnebefestigelsen ikke skulle ha noen innvirkning på skinneslitasjen. Imidlertid har målinger vist at det er tilfelle. Mulighetene som den elastiske befestigelsen gir skinnen til å «gi etter» i kurvene, påvirker slitasjebildet. Dette er vist i figur 5.

Kurvene viser resultater for stiv befestigelse med tynne mellomlegg og elastisk befestigelse med tykke mellomlegg. Målingene tyder på at skinneslitasjen kan halveres ved å erstatte en stiv befestigelse med tynt mellomlegg med en fjærende befestigelse med elastiske mellomlegg (såkalt dobbeltelastisk befestigelse).
Problemet med at skinnen flytter seg i forhold til svillen, er begrenset i dagens befestigelser på betongsviller da skinnen hviler mot en kant eller en stålskulder sideveis. Sideveis forflytting kan imidlertid være et problem spesielt på furusviller pga. at treverket er for svakt mekanisk til å tåle de kreftene det utsettes for fra skruene.

Rulling av skinnen forårsakes av de laterale og vertikale kreftene. Befestigelsen må motvirke dette. Viktige faktorer her er klemkraft og fjærkarakteristikk.
Faren for større rulling av skinnen og dermed for store krefter i befestigelsen, har vært et av argumentene mot å satse på tykke elastiske mellomlegg. Flere målinger i sporet har imidlertid vist at økt rulling ikke oppstår, men at den tvert i mot reduseres. I 1989 ble det gjort målinger ved Jernbaneverket i en kurve med radius ca. 250 m og med hastigheter opp til 90 km/h (manglende overhøyde I = 232 mm) som viste at skinnens rulling ble større med 5 mm harde EVA mellomlegg enn med meget myke 10 mm gummi mellomlegg (se forøvrig bilag 1).
Pga. økningen i rullingen av skinnen ved framføring av det rullende materiell med høyere kurvehastigheter kan det være nødvendig å benytte en mer solid fjær i befestigelsen. Dette skyldes at spenningene i fjærer som vanligvis benyttes for normale hastigheter, ved de høyere hastighetene kan bli så store at utmatting over lang tid vil inntreffe (mer enn 2 mill. lastvekslinger).
Skrå nedsliting av svillene under underlagsplatene på tresviller i kurver forårsakes også av de laterale og vertikale kreftene. Dette fenomenet gir også økning av sporvidde. Ved manglende vedlikehold eller utskifting av mellomlegg på betongsviller kan det oppstå tilsvarende problemer (jfr. notatet «Sviller»).
3.3 Utknekking av sporet
Skinnebefestigelsen skal bidra til den totale motstanden mot utknekking av sporet sideveis. Den vridningsmotstand som befestigelsen kan utøve i skinneleiet og skinnenes bøyestivhet gir til sammen sporets rammestivhet.
Befestigelsens vridningsmotstand har betydning for den lokale utknekkingen som er solslyng. Jo større motstanden mot vridning er, jo mindre er faren for at det vil oppstå solslyng. For gjennomgående ensidig forskyvning over en større lengde av sporet har befestigelsens motstand mot vridning ingen betydning. Vridningsmotstanden har størst betydning i det øyeblikket selve utknekkingen oppstår og studeres derfor først og fremst ved vinkelendringer fra 0 til 0,2 grader.

Faktorer som påvirker vridningsmotstanden til en befestigelse, er:
- klemkraft
- opplagerbetingelser til skinnen i lateral retning mot underlagsplate eller skulder (punktformet eller linjeformet)
- materiale i mellomlegget
- størrelsen på oppleggsflaten
De faktorene som har størst betydning, er klemkraften og skinnens laterale opplagsbetingelser i befestigelsen.
3.4 Vertikale krefter
Skinnebefestigelsen skal ta opp de vertikale krefter som oppstår ved framføring av det rullende materiell på sporet. Videre skal kreftene overføres fra skinne til sville. Disse er både statiske og dynamiske. De vertikale bevegelsene er oppadrettede og neadrettede. Befestigelsen må derfor være elastisk for å kunne følge bevegelsene som kreftene forårsaker.
For å kunne oppta de statiske kreftene monteres det f.eks. underlagsplater på tresviller. Dette gjøres for å oppnå større lastflate på tresvillen. På betongsvillene monteres et mellomlegg for å få et lastutjevnende lag og dermed unngå spenningskonsentrasjoner.
Det dynamiske tillegget til vertikalkreftene er stort. Hjulslag, urunde hjul, sluresår, høye eller lave sveiser, skjøter, bølger og rifler på skinnene er noen av de faktorer som øker det dynamiske tillegget ytterligere. Skinnebefestigelsens oppgave er å dempe virkningen av de dynamiske tilleggskreftene. Dette er hovedsaklig mellomleggets oppgave. På grunn av materialets stivhet eller karakteristikker er betongsvillene mer følsomme overfor de dynamiske virkninger enn tresviller. Kravene til mellomlegget har derfor økt da betongsvillene har blitt mer vanlig i sporet. Betongsvillene krever et elastisk mellomlegget for å oppnå god levetid.
Inntil for noen få år siden var det vanlig å betrakte mellomlegget som et lastutjevnende lag og som beskyttelse mot direkte slitasje av betongsvillen. 5 mm tykke mellomlegg i EVA var det vanlige. Med de økte kravene nevnt ovenfor og økt forståelse for det som hender i sporet, har jernbanene gått over til mer elastiske mellomlegg. I f.eks. de nordiske land er det innført et 10 mm mellomlegg i gummi. SNCF har i lengre tid benyttet 9 mm mellomlegg i gummi og også DB har innført elastiske mellomlegg på sine høyhastighetsbaner.
En god del prøver og målinger både i laboratorium og i felt er gjort for å studere mellomleggets effekt på bl.a. kreftene i svillen. Under er det vist noen eksempler utført i laboratorier.
3.4.1 Laboratorieforsøk
Ved Pandrols laboratorium er spenningene i svillen målt i en såkalt «drop weight test» med forskjellige mellomlegg. Spenningene ble sammenlignet med spenningene med 5 mm EVA mellomlegg. EVA mellomlegget reduserte ikke spenningene overhodet i forhold til f.eks. en metallplate. Sammenlignet med EVA fikk man følgende reduksjoner i spenninger i svillen med de øvrige mellomleggene:
- 5 mm korkgummimellomlegg 10–15 %
- 10 mm korkgummimellomlegg 20–30 %
- 5 mm profilert gummimellomlegg 15–20 %
- 10 mm profilert gummimellomlegg 50–55 %

3.4.2 Feltforsøk
Sommeren 1989 ble det gjort feltprøver ved NSB med forskjellige typer mellomlegg på instrumenterte sviller. Forsøkene skjedde i en kurve med radius 250 m. I tillegg til 5 mm EVA ble det prøvd 5 forskjellige mellomlegg. Spenninger i svillene ble målt under passering av godstog (225 kN aksellast) med hastigheter på 20–80 km/h og under persontog med hastigheter på 20–90 km/h.
Resultatet ble følgende reduksjoner i gjennomsnittlige spenninger i svillene i forhold til 5 mm EVA:
- 10 mm profilert plast mellomlegg 27 %
- 10 mm korkgummi mellomlegg 29 %
- 10 mm kork-EVA mellomlegg 34 %
- 10 mm polyuretan med knotter 40 %
- 10 mm gummi med knotter 46 %
Flere felt- og laboratorieforsøk er utført verden rundt og i alminnelighet er konklusjonen den at det er god overensstemmelse mellom laboratorieforsøk og feltforsøk. Spesielt er dette tilfelle når det gjelder de litt høyere hastighetene og trafikk med materiell med lave aksellaster. På baner med langsom og tung trafikk (høye aksellaster) har et elastisk mellomlegg ikke samme effekt siden de dynamiske tilleggene ikke blir så dominerende.
De dynamiske påkjenningene består også av vibrasjoner. Disse kan forårsake at skuldrer og skruer løsner og at skinnevandring oppstår. Elastiske, myke mellomlegg demper også vibrasjoner.
Når det gjelder tresviller, er det ikke nødvendig å stille spesielt store krav til mellomleggene siden tresvillene er elastiske i seg selv og kan ta imot de kreftene som oppstår. En elastisk befestigelse bør imidlertid brukes også på tresviller av hensyn til motstand mot skinnevandring. Spesielt viktig er det at skruer trekkes til med jevne mellomrom for å unngå at underlagsplatene slår mot svillen og dermed skaper stor slitasje.
Et spesielt problem er justering av sporveksler med betongsviller. Tyngden av sporvekselsvillene er så stor, spesielt i krysspartiet, at fjærene i mange tilfelle overstrekkes ved løft og dermed får permanente deformasjoner. Dette medfører at klemkraften nedsettes vesentlig. Problemet kan unngås ved bruk av befestigelse med beskyttelse mot varig deformasjon. Det kan også benyttes justeringsmaskiner med 3- eller 4-punkts løft.
3.5 Elektrisk isolasjon

Betongsvillene er elektrisk ledende. Siden skinnene bl.a. brukes som ledere for signalstrømmer, må skinnene isoleres fra svillen. I Norden er kravet at avledningen skal være mindre enn 0,5 S/km. Det innebærer at hver sville skal ha en motstand større enn 3080 Ohm.
Målinger som er gjort på betongsviller, viser at en våt sville (bare svillen) har en motstand på 100–300 Ohm. Motstanden skinne–skinne (inkludert befestigelsen) på en norsk betongsville ett minutt etter at den var tatt opp fra ett døgns vannbad var 7000 Ohm. Etter en time var motstanden allerede oppe i 26 000 Ohm. Etter at befestigelsen igjen var blitt våt, sank motstanden til 6000 Ohm. Betongsvillens elektriske motstand er altså meget avhengig av hvor fuktig svillen er.
Hvor mange sviller med dårlig isolering i befestigelsen som det er mulig å akseptere, er sterkt avhengig av omgivelsene rundt svillen. Faktorer kan være f.eks. graden av forurensning i ballasten eller befestigelsen og fuktighet samt antall planoverganger. Forutsettes det at en sville med hel isolering har en motstand på 20 000 Ohm og en sville med dårlig isolering har 200 Ohm motstand, skulle 6 % av svillene kunne ha dårlig isolering før avledningen blir større enn 0,5 S/km. Miljøet rundt svillen betyr imidlertid mye.
4 Beskrivelse av de enkelte komponenter
Innledningsvis er allerede nevnt at en moderne elastisk befestigelse på betongsville består av følgende komponenter:
- Innstøpt anker (skulder) i betongsville eller skruer i innstøpte dybler
- Elastisk mellomlegg i gummi mellom skinne og betongsville
- Isolatorer mellom skinne og betongsville og mellom anker og skinne
- Klemfjærer
De nyeste befestigelsessystemer på tresviller består av følgende komponenter:
- Skruer
- Underlagsplate i stål
- Som regel et tynt mellomlegg mellom skinne og underlagsplate
- Klemfjærer
Befestigelsessystemet må være dimensjonert og bygget på en slik måte at de enkelte komponenter kan utføre de oppgaver som er nødvendige for å ivareta en sikker framføring av det rullende materiell. Videre må systemet kunne opptre som en enhet.
Dette medfører f.eks. at innstøpt anker eller skruer samt klemfjærer i betongsviller i en sporveksel er kraftigere dimensjonert enn tilsvarende komponenter på den åpne linje. Dette er nødvendig da betongsvillene i en sporveksel er tyngre enn øvrige betongsviller. Dermed blir det unngått at f.eks. en klemfjær blir varig deformert ved løft av sporvekselen.
I det etterfølgende skal beskrives egenskaper og karakteristikker til de enkelte komponenter med utgangspunkt i befestigelsessystemet til Pandrol. Det forutsettes at befestigelsen er montert på betongsville.
4.1 Innstøpt anker eller skruer innsatt i innstøpte dybler
Befestigelsen monteres på betongsvillen ved et innstøpt anker eller ved svilleskruer som skrus i stilling i innstøpte dybler.
Pandrol befestigelsessystem på åpent spor forutsetter innstøpt anker i betongsviller. Andre befestigelsestyper som f.eks. det tyske Vossloh eller det franske NABLA benytter svilleskruer som skrus i endelig stilling i innstøpte dybler i svillen.
I sporvekselsviller benyttes både innstøpt anker og svilleskruer for Pandrol befestigelse. Dette har sammenheng med at befestigelse med innstøpt anker er mer plasskrevende og derfor må utelukkes på bestemte partier i sporvekselområdet.
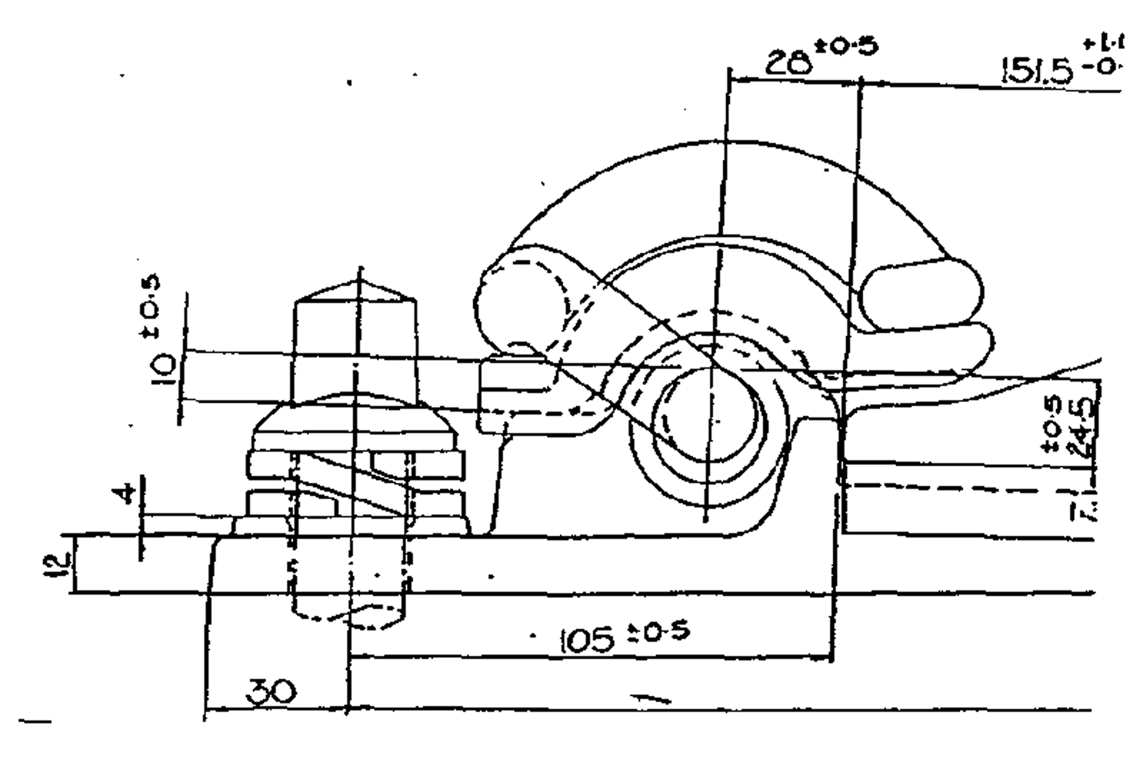
Det er spesielt evnen til å motstå 3 belastningstyper som er dominerende:
- Uttrekk
- Torsjon eller vridning
- Støt
Det innstøpte ankeret i en Pandrol befestigelse motstår en uttrekkskraft på over 100 kN. Selve ankeret blir ikke deformert. Det er betongen i svillen som blir oppsprukket slik at befestigelsen løsner fra svillen.
Størrelsen på torsjonsmomentet er et uttrykk for hvordan ankeret er i stand til å motstå torsjon, dvs. vridning . Utformingen av ankeret blir bl.a. bestemt av torsjonsbelastningen.
Ankeret må også ha en utforming og materialstyrke som tåler støt uten at det blir deformert ved støtbelastning. Støtbelastning kan f.eks. forekomme ved avsporing av det rullende materiell. Av den grunn søkes ankeret eller skruefeste å bygges med så lav høyde som mulig.

4.2 Klemfjærer
Pandrol har generelt levert 3 klemfjærer i sin produksjon til bruk på det åpne sporet:
- PR 341 A med svart farge som er 1. generasjon
- e 1877 med blå farge som er 2. generasjon
- Fastclip med rød farge som er nyeste generasjon
I diagrammet nedenfor er vist fjærkarakteristikken for alle 3 fjærene. Det framgår at PR 341 A har en nominell klemkraft på 10 kN ved en oppspenningsvei på 12 mm. Denne oppspenningsveien legger til grunn nye, ikke slitte komponenter i befestigelsen. Dette gjelder isolatorene og mellomlegget. Ved slitte komponenter reduseres klemkraften. Men på grunn av den lange oppspenningsveien opprettholdes tilstrekkelig klemkraft også ved slitte isolatorer.
Den høye klemkraften betyr også at hele sporkonstruksjonen kan løftes uten at fjærene blir varig deformert under forutsetning av at svilleavstanden ikke er større enn ca. 700 mm.
e 1877 har tilsvarende en nominell klemkraft på ca. 9,0 kN ved samme oppspenningsvei (12 mm).
Pandrol Fastclip har en nominell klemkraft på 10,0 kN ved en oppspenningsvei lik 12 mm.

For klemfjær som er festet i et anker med ekstra mothold er fjærkarakteristikken til Pandrol Fastclip lineær opp til en klemkraft på ca. 12,50 kN ved en fjærvei på 16 mm. Deretter øker klemkraften til ca. 20,0 kN uten at fjærveien forlenges. Under forutsetning av at ankeret i betongsvillen konstrueres for ekstra mothold (den såkalte secondary stiffness), kan særlige tunge sporkonstruksjoner løftes uten at fjærene blir varig deformert. Dette forutsetter en svilleavstand som ikke er større enn 600 mm. Et slikt anker benyttes fortrinnsvis i betongsviller i sporvekselområder. Betongsvillene i sporveksler er lengre og tyngre enn betongsviller på åpen linje.
Ved passering av det rullende materiell over svillene vil de elastiske mellomleggene bli sammentrykt. Dette fører til oppadrettede og nedadrettede bevegelser for klemfjærene. For å unngå utmatting må amplitudebevegelsene ikke overskride en vertikal bevegelse > ± 0,75 mm. Ved vedvarende større amplitudebevegelser vil fjæren på sikt bli utmattet. Bevegelsen bør ikke overstige ± 1,00 mm da en så stor amplitude kan medføre varig deformasjon.

4.3 Mellomlegg
Det elastiske mellomlegget mellom skinne og sville har til oppgave å redusere spissbelastningene på sporets komponenter ved passering av det rullende materiell. Mellomleggene har gjennomgått store forbedringer mht. å minske disse belastningene. Dette er anskueliggjort for det nye mellomlegget til Pandrol som er i 10 mm gummi i knottet utførelse. Dette mellomlegget sammenlignes med den eldre mellomleggsplaten Standard mellomleggsplate 5 mm EVA i plast. Den sterkt forbedrede evnen til å ta opp støtbelastningene for det nye mellomlegget i forhold til standardplaten beregnes ved formelen:
STØTRED
(4.1)
- STØTRED. = relativ forbedring (evne) til å ta opp spissbelastningene
- eR = påkjenning på sville ved bruk av elastisk mellomlegg av type Pandrol 10 mm gummi i knottet utførelse uttrykt ved evnen til å redusere spissbelastningene
- eS = påkjenning på sville ved bruk av stivt mellomlegg av type Pandrol EVA 5 mm i plast uttrykt ved evnen til å redusere spissbelastningene

Det er i denne sammenheng interessant å betrakte stivheten til det elastiske mellomlegget uttrykt i kN/mm. Pandrol spesifiserer for det elastiske mellomlegget i 10 mm gummi i knottet utførelse følgende karakteristikker som funksjon av laster:
1. Sekant er linjen som skal trekkes gjennom deformasjonsordinatene for en last lik 18 kN og en last lik 90 kN.
2. Sekant er linjen som skal trekkes gjennom deformasjonsordinatene for en last lik 70 kN og en last lik 90 kN.
18 kN er den gjennomsnittlige resulterende fjærkraften (består av 2 fjærer) på et skinneprofil utøvet av klemfjærene. 90 kN betraktes å være den gjennomsnittlige nominelle hjullast i statisk tilstand på baner med blandingstrafikk (passasjer- og godstrafikk)i Europa. Det vises til figuren under.

Stivhetsegenskapene til det elastiske mellomlegget uttrykt ved de 2 sekantene kan beskrives på følgende måte:
(øvre last – nedre last) / (deformasjon ved øvre last – deformasjon ved nedre last) (kN/mm)
For å oppnå tilfredsstillende kjøredynamikk og for å sikre lang levetid for komponentene i sporet må det settes krav til størrelsen av den statiske stivhet til det elastiske mellomlegget. Iht. erfaringer foreskriver Pandrol for mellomlegget i 10 mm gummi i knottet utførelse følgende verdier som gjelder for baner med normal blandingstrafikk (dvs. gjennomsnittlig aksellast på 180 kN):
1. Sekant skal ha en statisk stigningskoeffisient i området 40–55 kN/mm.
2. Sekant skal ha en statisk stigningskoeffisient i området < 300 kN/mm.
Stigningskoeffisienten for 1. sekant representerer den statiske stivhet som er influert av den samlede klemkraft til fjærene i befestigelsen og den gjennomsnittlige statiske hjulkraft til det rullende materiell for baner med blandingstrafikk. Med statisk stivhet menes den belastning som det elastiske mellomleddet utsettes for når det rullende materiell står stille på sporet.
Det er av betydning å kunne bestemme den dynamiske virksomme stivhet til det elastiske mellomleddet når det rullende materiell framføres. Iht. studier gjort i regi av ERRI (Study of characteristics of rail fastening systems – final recommendations, ERRI D 170/RP 5 mars 1994) er vibrasjonene i lavfrekvente områder dimensjonerende. I rapporten anbefales det å multiplisere den statiske stivhet med en faktor lik 1,50. Dette medfører at den dynamiske virksomme stivhet til det elastiske mellomlegget av type Pandrol 10 mm i gummi i knottet utførelse blir:
cPANDROL GUMMI 10 mm = 1,5 · ca. 45 kN/mm
Til sammenligning er den tilsvarende dynamiske virksomme stivhet til Pandrol EVA 5 mm plast lik:
cPANDROL EVA PLAST 5 mm = 700 kN/mm
Pandrol EVA Plast er dermed 10 ganger stivere enn Pandrol mellomlegg i 10 mm gummi.
Vossloh som er en tysk leverandør av befestigelsessystemer, har et elastisk mellomledd med stivhet lik:
cVOSSLOH = 100 kN/mm
Dette mellomlegget er noe stivere enn det mellomlegget som benyttes i befestigelsen til Pandrol. Befestigelsessystemet til Vossloh benyttes på høyhastighetsbanene i Tyskland.
Jo mykere det elastiske mellomlegget er, jo mer blir spissbelastningene dempet når det rullende materiell passerer. Hvor mykt mellomlegget kan være, er avhengig av de 2 parametrene aksellast og hastighet. Dette har sammenheng med at klemfjærene i befestigelsen vil bli påvirket av oppadrettede og nedadrettede bevegelser. For å hindre utmatting av klemfjærene må størrelsen på amplitudebevegelsene begrenses. Videre må nedbøyningen av skinnen begrenses da for store elastiske deformasjoner over tid vil føre til utmatting.
Mellomlegget bør være laget av elastisk material og utformet på en slik måte det blir god friksjon mellom mellomlegget og skinne. Dette for å hindre skinnevandring. Nedenunder er vist Pandrol mellomlegg i 10 mm gummi i knottet utførelse.

4.4 Isolatorer
Isolatoren skal sørge for elektrisk isolasjon mellom skinne og klemfjær samt mellom skinne og det innstøpte ankeret i betongsvillen. Dessuten skal den hindre slitasje av stålkomponenter i befestigelsessystemet ved at disse komponentene ikke skal berøre hverandre. Slike komponenter er skinne (skinnefot), ankeret og klemfjærer.
Elektrisk isolasjon av skinnene er nødvendig da disse benyttes som ledere for signalsystemet.
I et moderne høyelastisk befestigelsessystem vil skinnefoten bevege seg vertikalt mot sideflaten på isolatoren ved passering av det rullende materiell. I kurver opptrer også laterale krefter som gjør at skinnefoten presses mot isolatoren.
Ved bremsing eller akselerasjon av det rullende materiell og ved temperaturendringer i skinnene opptrer langsgående krefter i skinnene. Disse kreftene medvirker til at skinnefoten beveger seg langsmed frontpartiet av isolatorene.
Alle disse bevegelsene av skinnefoten i 3 retninger forårsaker slitasje på isolatoren.
I eldre typer av Pandrol befestigelse (PR 341 A, e - 1877) er det bare en isolatordel. Denne har funksjon som tåisolator mellom klemfjær og skinnefot og som sideisolator mellom det innstøpte ankeret i betongsville og sideflaten på skinnefoten.
I den nyeste befestigelse til Pandrol (Pandrol Fastclip) består isolatoren av 2 komponenter. Fotisolatoren er mellom det innstøpte ankeret og overkant av skinnefot. Denne delen blir derfor utsatt for store spissbelastninger.
Sideisolatoren er mellom ankeret og sideflaten på skinnefoten. Sideflaten på denne isolatoren er gjort meget stor og utformet på en slik måte at den bidrar til stor rammevirkning i befestigelsessystemet. Isolatoren er også elastisk slik at den gir litt etter før den kommer i anlegg i befestigelsen ved passering av det rullende materiell i kurver. På den måten reduseres slitasjen på alle komponenter. Endelig er det benyttede materialet meget slitesterkt.


4.5 Befestigelse på tresviller
Tresvillene er elastiske og oppbyggingen av befestigelse på disse svillene atskiller seg derfor noe fra den type befestigelse som brukes på betongsviller.
Det må benyttes skruet forbindelse. Mellom skinne og sville er det som regel en underlagsplate i stål for fordeling av de vertikale krefter på svillen. Skruene skrus i forborede hull i svillen gjennom hull i underlagsplaten. De fleste befestigelsestyper har 4 skruer. Dette gjelder f.eks. Pandrol og Hey-Back typene. Det franske Nabla benytter bare 2 skruer.
Svilleskruene må ha fjærringer og muttere. Etterskruing av svilleskruene er nødvendig.
For å sikre tilstrekkelig friksjon mellom skinne og underlagsplate kan det være fordelaktig å sette inn et friksjonsmateriale mellom disse komponentene.
Det er verdt å legge merke til at i den franske Nabla befestigelsen monteres skinnen direkte på tresvillen i et nedsenket parti uten bruk av underlagsplate. Skinnen hviler dermed mot en sidekant slik at svillen kan ta opp de laterale krefter fra befestigelsen.
Endelig benyttes klemfjærer for feste av skinne til underlagsplate. Det franske Nabla systemet har et såkalt fjærblad.

4.6 Befestigelse på sporveksler
Oppbyggingen av en befestigelse på betongsville i en sporveksel er i prinsippet den samme som for en betongsville på åpen linje. Det er i enkelte partier i sporvekselen nødvendig å bruke mellomleggsplater i stål. Dette gjelder spesielt i den bevegelige delen av tunge i tungepartiet. I partier hvor skinnene for hovedsporet og avvikesporet ligger meget nær hverandre (fast installasjon), er det av plasshensyn til befestigelsen også nødvendig med underlagsplate. Dette gjelder både i resterende del av tungepartiet og i mellompartiet.
I figuren under er vist konstruksjonen i overgangen fra tungepartiet til mellompartiet i en sporveksel.

I eldre Pandrol befestigelser benyttes et kraftig støpejernsanker innstøpt i betongsville. En sterkere klemfjær enn på vanlig spor er også montert i befestigelsen. Dette er nødvendig da betongsvillene og sporet for øvrig er tyngre i sporvekselområdet enn på åpen linje. Hensikten er å hindre varig deformasjon av klemfjæren ved løft av sporveksel.
I nyere befestigelse på sporveksler anvendes Pandrol Fastclip hvor ankeret har en såkalt «secondary stiffness», dvs. det er bygget en forsterkning på ankeret som gir ekstra mothold for fjæren.

4.7 Befestigelse på stålbruer
På stålbruer uten ballast skilles det mellom 2 prinsipper for befestigelse:
- Befestigelse som gir lengdeforskyvningsmotstand av skinnen.
- Befestigelse som tillater fri lengdebevegelse av skinnene relativt til svillen.
Den førstnevnte befestigelsen har underlagsplate med fjærer.
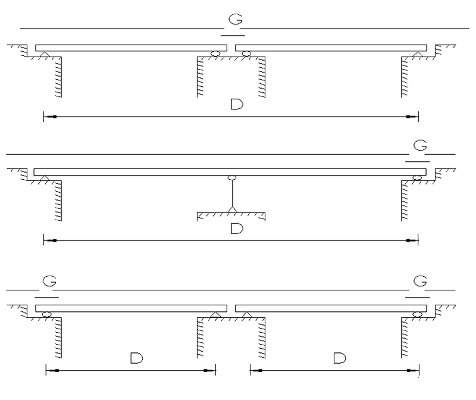
Hvilken type befestigelse som skal benyttes, er avhengig av bruas såkalte dilatasjonslengde (D) og om det benyttes glideskjøt eller ikke. Dilatasjonslengde er summen av brulengder hvor lengdevariasjon ved temperatur og belastning (dilatasjon) utløses gjennom bevegelige lagre på samme sted på brukonstruksjonen. På figuren under er det vist noen eksempler mht. definisjon av dilatasjonslengde samt plassering av glideskjøt (angitt ved G).

Med en dilatasjonslengde mindre enn 10 m benyttes ikke glideskjøt. Det skal anvendes en befestigelsestype som gir motstand mot lengdeforskyvning av skinnen. I denne forbindelse forutsettes det at det benyttes underlagsplate med fjærfeste i befestigelsen i tilsluttede spor på begge sider av brua og at sporene er lagt i pukkballast. Dersom dette kravet ikke er oppfylt, benyttes befestigelse som tillater fri lengdebevegelse.
Med dilatasjonslengde mellom 10 m og 100 m benyttes ikke glideskjøt. Derimot må det anvendes en befestigelse som tillater fri lengdebevegelse av skinnene.
Med dilatasjonslengde større enn 100 m må glideskjøt installeres i sporet. Det skal anvendes befestigelse med lengdeforskyvningsmotstand. Det er en forutsetning at de tilsluttede spor på land har skinnebefestigelse med underlagsplater og fjærfeste. Dersom dette ikke er tilfelle, må skinnene sikres mot skinnevandring ved skinnestoppere.
4.7.1 Befestigelse som gir lengdeforskyvningsmotstand
For befestigelse som gir lengdeforskyvningsmotstand benyttes samme befestigelse som på tresviller i sporet for øvrig. Dette medfører at befestigelsen består av
- svilleskruer
- underlagsplate
- fjærer
- mellomlegg mellom skinne og underlagsplate
Flere typer anvendes som f.eks. Pandrol og Hey-Back.
4.7.2 Befestigelse som tillater fri lengdebevegelse
Ved sporombygging og i nyere konstruksjoner anvendes ved Bane NOR en befestigelse av type Pandrol Railfree. Denne befestigelsen kjennetegnes ved at det er bygd inn en anleggsplate mellom fjær og skinnefot. Klemkraften er svært liten og ved passering av det rullende materiell vil anleggsplaten støte mot fjæra. Det vises til figur under som viser prinsippet.

4.8 Befestigelse i ballastfritt spor
På grunn av en relativt hard konstruksjon i et ballastfritt spor må skinnebefestigelsen være høyelastisk. Det er utviklet flere varianter.
VOSSLOH Ioarv 300 er en befestigelse som er justerbar i høyde og side. Skinnen ligger på et mellomlegg av gummi. Under dette mellomlegget finnes en stålplate og under denne igjen et nytt mellomlegg i gummi. Det siste mellomlegget er lagt direkte på betongsvillen.
I befestigelsen finnes 2 klemfjærer som må tåle bevegelser vertikalt for 2 mellomlegg. De vertikale amplitudene blir dermed meget store og det er derfor muligheter for utmatting.
For øvrig eksisterer også befestigelse med til sammen 4 fjærer, dvs. 2 fjærer på hver side av skinnen. Dette medfører at hver klemfjær behøver bare å ta opp bevegelser fra et mellomlegg. De vertikale amplitudene blir derfor ikke så store og faren for utmatting reduseres.

5 Testing av skinnebefestigelser
Før en befestigelsestype blir tatt i bruk, gjennomgår den et omfattende testprogram. Dette gjelder både for de enkelte komponenter i befestigelsen og for hele systemet. Hensikten er å kontrollere om de enkelte komponenter og systemet som en enhet klarer de krav som er bestemt. Kravene skal sikre lang levetid og funksjonsdyktighet i sporet.
Testmetodene og de krav som er bestemt i sammenheng med forsøkene, tar utgangspunkt i befestigelsessystemets primære oppgaver:
- Opprettholde tilstrekkelig motstand mot skinnevandring
- Sikre sporvidde
- Hindre utknekking av skinner
- Overføre vertikale og laterale krefter fra skinne til sville
- Elektrisk isolering av skinne
- Bestandighet mot korrosjon
For de enkelte komponenter finnes bl.a. følgende prøver:
Innstøpt anker eller skruer:
- Uttrekksprøve
- Vridningsprøve (torsjon)
- Støtbelastning
Klemfjærer:
- Prøving av fjærkarakteristikk
- Utmattingsprøve mht. definerte vertikale amplitudebevegelser
- Prøver som verifiserer klemfjærens spissbelastning for overføring til skinne
Mellomlegg:
- Prøving av materialets karakteristikk
- Prøving av de elastiske egenskaper
Isolatorer:
- Slitasje
- Elektrisk isolering
For befestigelsestypen som enhet gjøres bl.a. følgende forsøk:
- Dynamiske utmattingstester for prøving av levetid for klemfjærer, isolatorer og mellomlegg
- Vridningstester for prøving av motstand mot rulling av skinner ved store opptredende laterale krefter
- Tester for prøving av motstand mot skinnevandring
- Tester for bestandighet mot korrosjon
- Rester for prøving av virkemåte ved lave temperaturer
- Elektrisk isolering av skinne
6 Beskrivelse av befestigelsessystemer
Det eksisterer flere typer befestigelsessystemer på markedet til bruk både på betongsviller og tresviller. I dette kapitlet skal det redegjøres for de typer som er mest benyttet i Europa. De dominerende leverandører er:
- PANDROL Ltd (engelsk)
- VOSSLOH (tysk)
- NABLA (fransk)
En ennå mye benyttet befestigelse på tresviller i Norge:
- Hey-Back
6.1 Pandrol
Ved Bane NOR benyttes Pandrol befestigelsessystemer på betongsviller helt siden betongsvillene ble introdusert i Norge på 1960-tallet. I senere tid er også befestigelsestyper fra Pandrol blitt introdusert på tresviller.
Pandrol befestigelse forekommer i ulike varianter i sporet på banestrekninger til Bane NOR. Generelt består denne befestigelsen av innstøpte ankere (skuldre) i betongsville, mellomlegg i plast eller gummi, isolatorer og fjærer.
De ulike befestigelsesystemene på betongsviller har ingen skrudde forbindelser. Det finnes derfor ingen mulighet for justering av f.eks. klemkraften i klemfjæren ved tiltrekking av skruer eller muttere. Men de enkelte komponentene utøver residente egenskaper som sikrer liten slitasje og dermed lang brukstid ved belastning i sporet.
En befestigelse som kan monteres på en betongsville uten bruk av skruer oppfattes ved Bane NOR å ha en rekke fordeler:
- Nødvendig etterskruing av skruer med muttere for å sikre tilstrekkelig klemkraft er ikke nødvendig.
- Ingen skruehull i betongsville som utsettes for inntrenging av vann som kan fryse til is og dermed frostsprenge svillen.
Det er utviklet arbeidsmaskiner og metoder som sikrer installering av befestigelsen og skinner ved ujevnheter i sporet. Dette skjer ved løfting av svillene på grunn av manglende mulighet for justering.
Fjærene har hele tiden blitt utviklet. De første typene som ble benyttet, hadde betegnelsen PR 323 og PR 401.
Neste generasjon av fjærer som ble installert, fikk betegnelsen Pandrol PR 341 A. Denne fjæren kjennetegnes ved at den har 2 fjærtopper. Videre må fjæren monteres i sporet i skinnens lengderetning. Dette forholdet gjør en maskinell montering av befestigelse samt skinne i sporet komplisert og tidkrevende.
Neste generasjon av fjærer fikk betegnelse e 1877. Den kjennetegnes ved bare en fjærtopp. Også denne fjæren monteres i sporet i skinnens lengderetning.
Det er overveiende fjær av type PR 341 A som er i bruk i sporet ved Bane NORi dag. Denne har en klemkraft på ca. 7,0 kN ved en oppspenningsvei på 12 mm. Ved slitte isolatorer blir denne klemkraften redusert. Fjær av type e 1877 har ved nye isolatorer en tilsvarende klemkraft på ca. 9,0 kN.
Ovennevnte fjærer er komponenter i befestigelsessystemer som ikke kan formonteres på betongsvillefabrikk. Ved utlegging av spor må monteringen av alle komponentene i befestigelsen utføres på anleggsstedet. De forskjellige fjærtypene må ved ulike sporarbeider (bl.a. nøytralisering) trekkes helt ut og deretter helt inn igjen etter at arbeidene er avsluttet. Disse monteringsarbeidene må gjøres delvis manuelt og maskinelt og de er meget arbeidsintensive og kostbare.
6.1.2 Pandrol Fastclip
Pandrol Ltd har utviklet et tidsmessig befestigelsessystem som tilfredsstiller krav mht. lang levetid og effektivitet i forbindelse med ulike arbeidsoppgaver i sporet. Dette system har fått betegnelsen Pandrol Fastclip.
Pandrol Fastclip er konstruert som en kompakt lav profil enhet med liten byggehøyde. Dette betyr at muligheten for skader på befestigelsessystemet ved tilfeldige støt (f.eks. ved avsporing) og fra arbeidsmaskiner i forbindelse med sporarbeider er minimalisert.
Følgende viktige trekk kjennetegner Pandrol Fastclip befestigelse:
- Systemet kan benyttes på baner med blandingstrafikk (passasjer- og godstrafikk).
- Formontering av alle komponenter i betongsvillefabrikk.
- Ingen skrudde forbindelser.
- Godt samvirke med sporets øvrige komponenter (skinner, sviller).
- Systemet er tilrettelagt for maskinell installasjon i nytt spor samt maskinell uttrekking og innsetting av fjærer ved ulike typer sporarbeider.
Befestigelsen består av følgende komponenter:
- 2 innstøpte skuldre i betongsville
- 2 klemfjærer
- 2 sideisolatorer i plast mellom skulder og skinnefot
- 2 fjærisolatorer i plast mellom fjær og skinnefot
- 1 elastisk mellomlegg (10 mm tykk) i gummi i knottet utførelse
Ved utslitte komponenter utøver klemfjæren en nominell klemkraft på ca. 10,0 kN. Dette sikrer høy klemkraft også ved slitte komponenter. Dette gjelder spesielt for slitte isolatorer.
Videre er det verdt å legge merke til sideisolatorens lange sideflate mot sidekant av skinnefot. Det elastiske materialet i sideisolatoren muliggjør en viss bevegelse av skinnen i skinneleiet ved påvirkning av laterale krefter. Dette har vist å ha en gunstig virkning idet forholdet fører til redusert slitasje.
Etter at sideisolatoren er kommet i anlegg, bidrar den til økt rammestivhet i skinnestigen. Dette medfører redusert fare for bl.a. solslyng.
Hver av komponentene er laget av materialer som skal sikre optimal funksjon av komponentene hver for seg og av befestigelsessystemet samlet iht. de belastninger systemet skal oppta ved togpassering. Videre er det vektlagt at de ulike materialene skal være residente og kunne utøve lang levetid og dermed være økonomiske i bruk.
Selve fjæren i systemet har en meget viktig funksjon. Denne kan låses i 3 forskjellige posisjoner ved hjelp av 3 hakk i fjærstålet. Disse posisjonene er:
- Posisjon helt ute: posisjon ved skifte av sideisolator.
- Posisjon halvveis ute: posisjon hvor fjæren framkaller 50 % av nominell klemkraft og er den posisjon som befestigelsessystemet får ved avsluttet formontering i betongsvillefabrikk samt ved innlegging av skinner og ved nøytraliseringsarbeider.
- Posisjon helt inne: posisjon hvor befestigelsesytemet er ferdig montert i sporet.
I posisjon halvveis ute blir alle komponentene i befestigelsessystemet holdt på plass. Dette gjelder også mellomlegget. Denne behøver derfor ikke å limes på betongsvillen. Dette medfører at betongsvillen med befestigelsessystemet i denne posisjonen kan lagres, transporteres og installeres i sporet uten fare for å miste komponenter.
Figur 23 viser de 3 posisjonene i Pandrol Fastclip befestigelsessystemet.



6.2 Vossloh
Vossloh befestigelsessystemer et tysk fabrikat og typene benyttes i stor utstrekning på banene til DB AG.
Det finnes flere varianter også av dette systemet i takt med krav og utvikling. I et konvensjonelt klassisk ballastspor med betongsviller består denne befestigelsen av følgende komponenter:
- 2 dybler innstøpt i betongsviller
- 2 skruer som skrus inn i dyblene i endelig stilling
- 2 klemfjærer
- 2 vinkelunderlagsplater som lateralt hviler mot skulder i betongsville
- 1 elastisk mellomlegg
Befestigelsen bygges opp om en skruet forbindelse i svillen. Av den grunn er det nødvendig med vinkelplaten som har hold mot en opphøyd skulder i overkant av betongsvillen for å ta opp laterale krefter. Vinkelplaten opptrer også som isolator.
Befestigelsesystemet har meget høy klemkraft og lang fjærvei. Dette sikrer høy klemkraft også ved slitte komponenter. På grunn av de dynamiske vertikale bevegelsene til sporet ved passering av det rullende materiell er det imidlertid mulighet for at skruen kan løsne fra endelig stilling i dyblen. Dette medfører tap av klemkraft og etterskruing er derfor nødvendig.
I ballastfritt spor bygger befestigelsessystemet på samme prinsipp. Imidlertid for å sikre nødvendig elastisitet i sporet har befestigelsen 2 elastiske mellomlegg og en underlagsplate i stål. Direkte under skinnen ligger det ene mellomlegget, Deretter kommer underlagsplaten. Under denne igjen ligger det andre mellomlegget direkte på betongkonstruksjonen i det ballastfrie sporet.
I figuren under er vist befestigelsen som benyttes i det konvensjonelle sporet.

6.3 Nabla
Nabla befestigelse er fransk og benyttes bl.a. på høyhastighetsbanene i Frankrike.
Nabla kan benyttes både på betongsviller og tresviller. Montert på betongsville består denne befestigelsen av følgende komponenter:
- 2 dybler innstøpt i betongsville
- 2 skruer tilbehør (mutter og mutter-ring) som skrus inn i dyblene i endelig stilling
- 2 klemblader
- 2 isolerplater som også tjener som opplegg for klembladene
- Elastisk mellomlegg
Det legges merke til at fjær-ringen i befestigelsen blir tatt vare på med klemblader. Disse har en meget kort oppspenningsvei som er 4 mm. Klemkraften som får karakter av flatebelastning, er på ca. 12,0 kN. Dette medfører hurtig tap av klemkraft ved slitte komponenter.
Også for NABLA vil etterskruing av skruer være nødvendig.
Befestigelsessystemet er vist i figuren under.

6.4 Hey-Back
Hey-Back befestigelse på tresviller er mye brukt i Norge. Med unntak av fjærer produseres den ikke lenger. Ved sporomlegging eller ved legging av nytt spor med tresviller benyttes andre typer (Pandrol Rail Free).
Hey-Back befestigelsen består av følgende komponenter:
- 4 svilleskruer med fjærringer og muttere
- 1 underlagsplate
- 2 fjærer
- Et mellomlegg mellom skinne og underlagsplate
Mellomlegget tjener til å øke friksjonen mellom skinne og sville. Den gir dermed et bidrag mot skinnevandring.

7 Krefter i skinnebefestigelsen
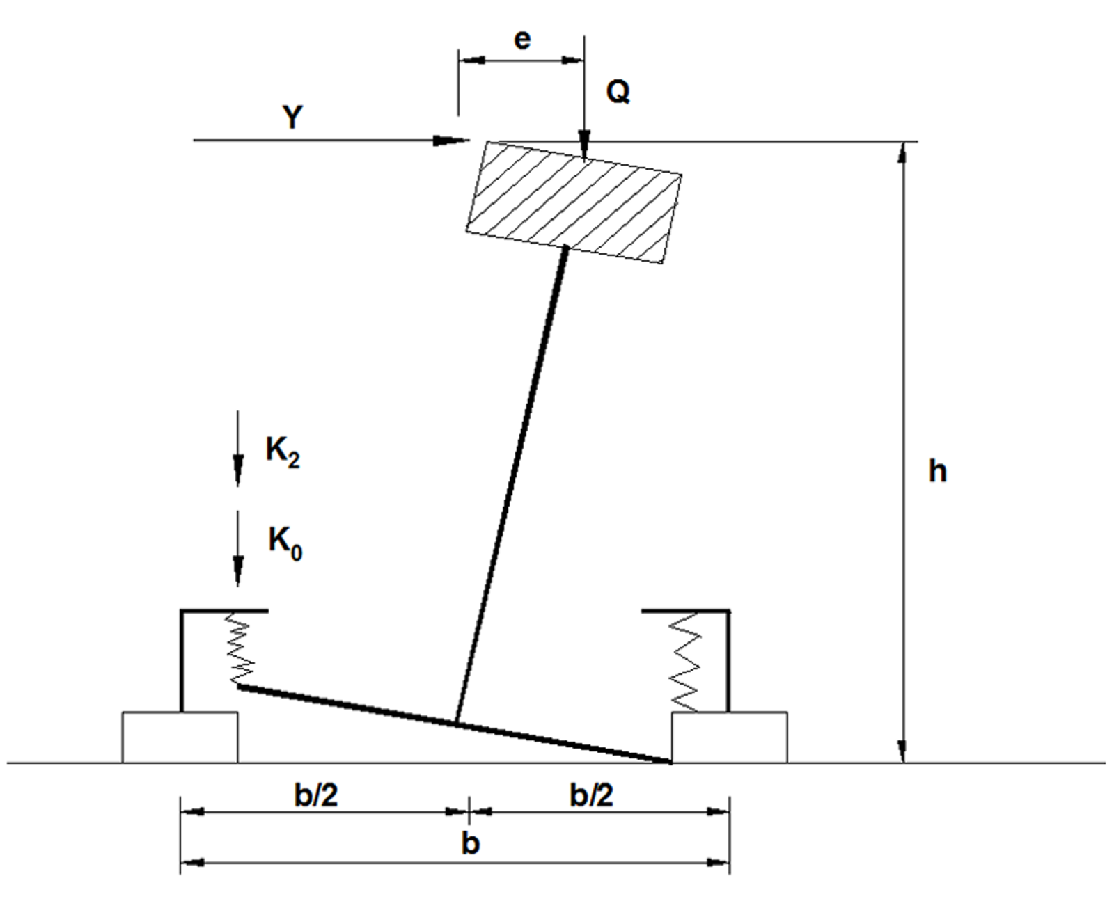
For de forhold som er vist i figuren under, kan det angis en forenklet metode for beregning av krefter i skinnebefestigelsen. Det forutsettes at skinnen ligger direkte på underlagsplate i stål. Iht. modellen gjelder:
- e = horisontal utbøyning i o.k. skinne
- k = skinnebefestigelsens fjærstivhet
- b = skinnefotens bredde
- h = skinnens høyde
- K0 = forspenningskraft
- Q = hjulkraft
- Y = horisontalkraft
- K2 = befestigelseskraft
Med momentlikevekt på den ene siden i skinnefoten under påvirkning av vertikale og horisontale krefter kan følgende ligning etableres:
(4.2)
Derav beregnes befestigelseskraften K2 :
(4.3)
Utbøyning i overkant skinnehodet beregnes:
(4.4)
Ved innsetting av et mykt mellomlegg i gummi mellom skinne og sville vil skinnen innta en stilling i befestigelsen som bl.a. er en funksjon av fjærens og mellomleggets karakteristikker. Videre vil de ytre vertikale og laterale krefter bestemme skinnens rulling i befestigelsen.

Bildet under, som er gjort med målinger ved hjelp av akselerometre montert i sporet i en kurve, illustrerer skinnenes bevegelser i skinneleiet ved passering av det rullende materiell. Det blir vist at den lavere liggende skinne (innerstreng) har større deformasjon mot terrenget enn mot spormidt. Dette betyr at skinnen blir utsatt for store laterale krefter og ruller utover. Den høyere liggende skinne (ytterstreng) viser de samme deformasjoner over hele skinnefotens bredde. Skinnen har en jevn nedadrettet bevegelse. Den blir utsatt for minimale laterale krefter.


Ved å betrakte de ytre krefter kan tilhørende ytre rullemomentet beregnes etter følgende formel:
(4.5)
Hvor mye skinnen vil rulle, er avhengig av mellomleggets og fjærens karakteristikker. Dette betyr at mellomleggets elastisitet og fjærens stivhet vil være avgjørende parametre.
Forholdet e/h kan variere i området 0,15–0,20 avhengig av skinnetype.
Dersom en skinne skal rulle utover i skinneleiet, må:
(4.6)
Tatt i betraktning forholdet mellom eksentrisiteten og høyde på skinnen, betinger dette en relativ høy lateral kraft.
Dersom den samme skinne skal rulle innover, må:
(4.6)
8 Montering og vedlikehold
Montering og utbytting av komponenter i befestigelsen skal kunne skje enkelt og rasjonelt. De kravene som stilles, avhenger bl.a. hvilken byggemetode som brukes og av sporet. Det ideelle er naturligvis å finne komponenter med samme livslengde som skinnene, men det er uoppnåelig.
Problemet i dag er først og fremst mellomlegget, som er komplisert å bytte. Å finne et mellomlegg som for det første klarer de sportekniske kravene og for det andre har en livstid på 20–30 år er ikke enkelt.
Skinnebefestigelsens komponenter skal også tåle det andre vedlikeholdet som forekommer i sporet, f.eks. sveising, nøytralisering, pakking og baksing.
9 Eksempler på noen befestigelsestyper
I det etterfølgende er vist noen av de mest alminnelige befestigelsestyper:
- Vossloh befestigelse på betongsviller i ballastspor
- Vossloh befestigelse i ballastfritt spor (fast spor)
- Pandrol befestigelse med fjær av type e-1877
- Pandrol befestigelse med PR fjær i betongsville i sporveksler
- Pandrol befestigelse av type Rail free på tresviller på stålbruer
- Hey-Back befestigelse på tresviller
- Nabla RNTN befestigelse på tresviller
- Pandrol Gauge-lock
- Pandrol Fastclip
- Hambo befestigelse
- Fist befestigelse











Litteraturhenvisninger
- Allan M Zarembski – Rail replacement criteria, Railway Track & Structures, (oct 1993).
- Helmut Maak – Der Oberbau-ein wichtiger Teil des Fahrweges, Eisenbahningenieur 40 (1989).
- Per Herman Sørli – Overbygningens komponenter – Befestigelse, Kompendium ved NBIU (1994).
- Report no. 1366 «PANDROL FASTCLIP».