Nødfrakobling
Publisert: 6. februar 2012
Oppdatert: 19. mai 2025
1 Innledning
Nødfrakoblingens hensikt er at togledere eller annet personell raskt og sikkert skal kunne fjerne spenningen til togene på den aktuelle strekningen dersom det oppdages farlige situasjoner. Systemet ble etablert i 1971–72. Frakobling skjer ved å koble bort berørte 15 kV-linjer og gjøre disse spenningsløse. Det er primært to forhold hvor nødfrakobling vil være en aktuell barriere eller et konsekvensreduserende tiltak:1
- Sammenstøt tog mot tog og sammenstøt tog mot objekt.
- Fare for elektrisk støt gjennom kontaktledningen, enten ved at personer klatrer i master eller på togmateriell, eller ved at kontaktledningen ryker og kan være en fare for personer i nærheten.
Nødfrakobling vurderes som et sekundært eller tertiært system for å unngå jernbaneulykker ved disse driftsavvikssituasjonene. En svakhet ved nødfrakoblingssystemet er at det ikke virker på dieseldrevne tog, som blant annet innbefatter de fleste banemaskiner1.
1.1 Forventet reaksjon fra lokomotivfører ved nødfrakobling
Nødfrakoblingen er delt opp i strekninger. Når nødfrakoblingen utløses, faller spenningen i KL-anlegget på den aktuelle strekningen. Alle elektriske kjøretøy mister kjørestrømmen og lokomotivførere er pliktet til å redusere hastigheten til sikthastighet (maksimalt 40 km/h). Deretter skal lokfører vente på innkobling av kontaktledning og videre instrukser fra togleder før toget kan kjøre normalt igjen.1.
For lokomotivføreren skiller nødfrakobling seg ikke ut fra andre utkoblinger. Det svært sjelden at utkobling av kontakledningen skyldes nødfrakoblinger, derfor er ikke nødfrakobling det som er fremst i lokomotivførerens tanker når spenningen forsvinner. Derfor kan det gå noe tid fra nedfrakobling til lokomotivfører reduserer hastigheten (bremser). I praksis vil togleder benytte «GSM-R nødanrop» og foreta nødfrakobling mer eller mindre samtidig. Lokomotivføreren vil ved mottak av nødanrop sannsynligvis i alle situasjoner reagere øyeblikkelig, men ved nødfrakobling uten tilleggsinformasjon kan respons forventes å ta noe lengre tid. Reaksjon på frakobling er i en analyserapport i forbindelse med avvikling av hvilestrømkrets for funksjonen, antatt å være rundt 3,5 sekunder1.
2 Tidligere teknikker for funksjonen nødfrakobling
Det fantes tidligere to teknikker for nødfrakobling, konvensjonell teknikk med hvilestrømsløyfe og en annen teknikk basert på tonesignalering i et fiberoptisk transmisjonsnett, kalt tonesignalsløyfe. Tonesignalsløyfene var i bruk på strekningen Oslo S - Eidsvoll.
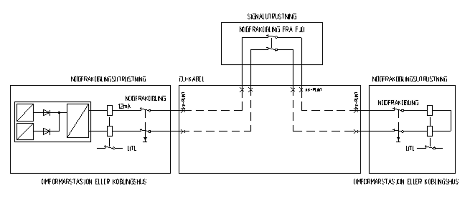
Mellom matestasjoner som matet en bestemt strekningen føres en fysisk strømsløyfe i en parkabel. Sløyfenes strekning bestemmes av beliggenheter til omformerstasjoner og koblingshus. Hvilestrømmen holder et relé i de aktuelle stasjonene inne. En regulator mater ut hvilestrømmen på 12 mA på nødfrakoblingssløyfen gjennom en aktiv regulering. Ved nødfrakobling ga et strømfølsomt relé i sløyfen ordre til utløsningskretsen om å løse ut 15 kV-linjebryteren(e). Mulige feil på hvilestrømsløyfen var kortslutning og jordfeil. Ofte var nødfrakobling på visse strekninger uvirksom på grunn av feil i dages- og ukevis, i noen tilfeller enda lengre tid.
Ved utbygging av tele- og datatransmisjonsnett kunne en gå over til digitalteknikk og optokabler for nødfrakobling. Dette gjorde det naturlig å erstatte strømsløyfene i nødfrakoblingen med tonesignalsløyfer som kunne kommunisere over optofibernett med PCM-utrustning. Tonesignalsløyfer gir høyere tilgjengelighet ved redundans i fibernettet enn strømsløyfer. Dersom kabelen til strømsløyfen blir ødelagt fantes det ikke noen omkoblingsmuligheter, men om fiberen blir defekt kan tonesignalene raskt kobles over på en annen sløyfe.

3 Overføring av funksjonen nødfrakobling til FJEL
I årene 2011 til 2013 ble det delvis i regi av Det norske Veritas gjennomført en vurdering av systemet med hvilestrømsløyfe. Det ble påpekt tiltak i form av ombygginger og forbedringer av strømforsyning og strømregulator, samt isolasjonsovervåkning. Det ble estimert at totalkostnadene for hele landet ville bli 3.350.000 kr (2011). Allikevel ville ikke dette være tilstrekkelig på litt lengre sikt fordi kablene som gikk langs banene var gamle og hadde sviktende isolasjon. En total utskifting av kabler for hvilestrømsløyfen måtte derfor påregnes innen noen år. Totalkostnadene knyttet til drift av systemet var spredd på mange parter og noen totaloversikt fantes ikke. Det ble vurder en betydelig større kostnad å etablere ett nytt system med nødfrakobling utenfor FJEL1.
FJEL er et felles SCADA-system for alle elkraftssentralene og for Bane Energis driftsentral for omformerstasjoner. Det er etdublert hovedserversystem lokalisert lokalisert i flere teknisk rom. Alle Elkraftsentraler og Driftssentralen har de nødvendige operatørarbeidsplassene og Bane Energi har i tillegg flere systemarbeidsplasser. Arbeidsplassene er lokalt plasserte datamaskiner som kommuniserer med serversystemet over Bane NORs NGN-nett. Serversystemet kommuniserer også over NGN med omformerstasjoner, RTU for kontaktledningen, etc.1
Hurtigutkoblingsfunksjonen ble etablert som en SW-funksjon i FJEL basert på aktivering av signal fra et utenforliggende system som måtte ønske en slik utkobling. Et slik utenforliggende system kan være for eksempel CTC, Txp, LOP, eller lignende. En hurtigutkobling vil sørge for at en programmert sekvens styrer utgående effektbrytere (linjebrytere) for en strening i «UT»-posisjon. Brytere er plassert i omformerstasjoner eller koblingshus1.
Primærfunksjonaliteten til nødfrakobling ble beholdt med overføring til FJEL og det ble vurdert til kun å være svært marginale endringer på totalsikkerhet knyttet til togframføring og elsikkerhet. Fordelene med omleggingen var større oppetid på systemet. For det andre at en unngikk månedlige skarpe tester i kl-anlegget som både er dyrt og kunne påvirker trafikken1.
4 Litteratur
- Lindgren, P. : Opplæring Jessheim omformerstasjon, Adtranz, (okt. 1993).
- Jernbaneverket Region Øst. Nødfrakobling i Region Øst, beskrivelse og instruks, Jernbaneverket Region Øst (1998).
5 Referanser
- Andersen, Terje: Endringsanalyse for overføring av funksjon for nødfrakoblingen til fjernstyringssystemet for Elkraft (2013).